реферат
Главная

Рефераты по биологии

Рефераты по экономике

Рефераты по москвоведению

Рефераты по экологии

Краткое содержание произведений

Рефераты по физкультуре и спорту

Топики по английскому языку

Рефераты по математике

Рефераты по музыке

Остальные рефераты

Рефераты по авиации и космонавтике

Рефераты по административному праву

Рефераты по безопасности жизнедеятельности

Рефераты по арбитражному процессу

Рефераты по архитектуре

Рефераты по астрономии

Рефераты по банковскому делу

Рефераты по биржевому делу

Рефераты по ботанике и сельскому хозяйству

Рефераты по бухгалтерскому учету и аудиту

Рефераты по валютным отношениям

Рефераты по ветеринарии

Рефераты для военной кафедры

Рефераты по географии

Рефераты по геодезии

Рефераты по геологии

Реферат: Способы защиты земляного полотна от обледенения и промерзания

Реферат: Способы защиты земляного полотна от обледенения и промерзания

СГУПС


Реферат


на тему:


"Способы защиты земляного полотна от обледенения и промерзания"


Выполнил:

студент группы МТ-111

Дауберт А.А.

Проверил: Бахтин С.А.


Новосибирск 2002 г.

Введение.

Наледи – сложное природное явление, довольно широко распространенное в Восточной части России.

Зимой почти сразу после первых морозов многочисленные ручьи и ключи, текущие по склонам долин и распадков и имеющие, как правило, северную экспозицию, начинают замерзать и образовывать наледи – сначала малозаметные и почти не беспокоящие строителей, но постепенно растущие, приобретающие внушительные размеры и имеющие значительные объемы откладываемого льда.

Наледи серьезно затрудняют работы, оказывая различные воздействия на строящиеся или эксплуатируемые объекты, особенно железнодорожные пути, притрассовые автомобильные дороги, водопропускные трубы и малые мосты.

Факторы наледеобразования, независимо от степени их проявления и характера их воздействия, можно разделить на природные (естественные) и искусственные (сопутствующие), вызываемые полезной деятельностью человека.

В настоящее время существует огромное количество различных средств противоналедной борьбы. По характеру все ее средства делятся на пассивные, ослабляющие наледное воздействие, но не оказывающие влияния на факторы наледеобразования, и активные – ликвидирующие наледеобразовательные процессы или устраняющие воздействие наледей на сооружения.

К пассивным противоналедным устройствам относятся постоянные и временные дощатые и шпальные заборы, сезонные мерзлотные пояса, снеговые валы, отепление постоянно действующих водотоков, подогрев наледных вод, механизированное и ручное рыхление и скалывание льда, а также пропуск наледных вод через железнодорожный путь по освобождаемым от балласта шпальным ящикам или по ледовым канавам под пролетными строениями мостов и в водопропускных трубах. Несмотря на значительные затраты, пассивные способы борьбы с наледями обычно не дают желаемого результата, не обеспечивая также безопасности движение по железным дорогам.

Защитные противоналедные мероприятия

Защитные средства противоналедной борьбы различаются на сезонные и постоянные. К сезонным защитным мероприятиям относятся: устройство сезонных обходов на притрассовых авто­дорогах и зимниках; устройство настилов на наледях, покрываю­щих проезжую часть притрассовых автомобильных дорог; засыпка наледных мест на временных автодорогах щебнем и скальным грунтом; отвод наледных вод но канавам во льду и пропуск их через шпальные ящики железнодорожного пути и проезжую часть притрассовых автодорог; выколка и удаление наледного льда из отверстий водопропускных сооружений и кюветов вруч­ную и механизированным способом с использованием бульдозеров и рыхлителей; резка наледного льда механическими пилами и баровыми механизмами; взрывание наледного льда, а также его таяние.

К постоянным защитным мероприятиям относятся:

  • п

    Рис. 1. Поднятие насыпей земляного полотна на высоту а1,5 м для защиты от наледного подтопления:

    1 — очертание насыпи после реконструкции; 2 — верх наледи до реконструкции; 3 — очер­тание насыпи до реконструкции


    однятие отметки бровки земляного полотна на высоту, иск­лючающую наледное воздействие даже в самые суровые зимы (рис.1);

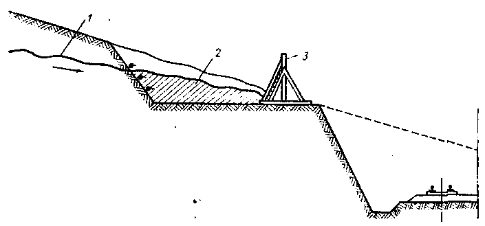
  • у

    Рис. 2. Уширение выемки для размещения в ней средств противоналедной

    борьбы:

    1 -- очертание выемки до реконструкции; 2 — очертание выемки после реконструкции; 3 — верх наледи после уширения выемки и строительства противоналедного забора; 4 — верх наледи до реконструкции дороги; 5 — забор; б — выходы наледных вод


    ширение выемок на наледных участках с целью размещения в них заграждающих протнвоналедных устройств временного и постоянного типа (рис. 2);

  • перенос отдельных участков дорог с устройством постоянных обходов;

  • строительство дополнительных водопропускных труб;

  • замена водопропускных труб и малых мостов на свайно-эстакадные мосты;

  • замена отдельных водопропускных труб па фильтрующие прорези;

  • замена водопропускных труб и малых мостов на специальные противоналедные водопропускные сооружения с необходимыми отверстиями для свободного пропуска наледей;

  • установка на проезжей части дорог водоотводящих бордюр­ных камней и водопоглощающих устройств.

Постоянные защитные мероприятия, несмотря на довольно значительные капитальные затраты, могут полностью ликвиди­ровать наледное воздействие на дорожные сооружения или свести его к допустимому минимуму, проявляющемуся только в отдельные, наиболее суровые зимы. Иногда подобный эф­фект может быть обеспечен превращением выемки в насыпь (рис. 3).

В

Рис. 3. Превращение выемки в на­сыпь (с уширением выемки для раз­мещения средств противоналедной борьбы):

1 — уровень верха наледи до реконструк­ции; 2 — очертание выемки после рекон­струкции; 3 — уровень яерха наледи пос­ле уширения выемки; 4 — очертание вы­емки после постройки дороги; 5 — выхо­ды наледных вод

одоотводящие бордюрные камни и водопоглощающие устрой­ства позволяют в некоторых случаях успешно осуществлять противоналедную борьбу.

Водоотводящие бордюрные камни представляют собой своеоб­разные сборные лотки из железобетона, имеющие водоприемные отверстия, которые могут не только поглощать, но и отводить наледную воду.

Некоторые модификации таких устройств имеют откидные крышки и нагревательные элементы, являясь одновременно средствами снегоборьбы. Наиболее целесообразно применять эти устройства в населенных пунктах или на горных дорогах, имеющих требуемые уклоны.

Водопоглощающие устройства предназначены в основном для защиты от наледей, возникающих при таянии снега (стоковых), на больших площадях, имеющих асфальтобетонное или бетон­ное покрытие. Их выполняют в виде блоков из фильтрующего Морозостойкого бетона либо пластбетона (рис. 4). При необхо­димости они могут иметь вверху сменный блок-фильтр, под ко­торым помещается нагревательный элемент, обеспечивающий успешное функционирование этого устройства в самых суровых климатических условиях.

С

Рнс. 4. Водопоглощающее устройство

пециальные
противоналедно-водопропускные сооружения

К специальным водопропускным сооружениям, предназначен­ным одновременно для безналедного пропуска постоянно и пери­одически действующих водотоков, относятся специальные свайно-тоннельные водопропускные сооружения, противоналедные мосты-трубы, эстакадные засыпные мосты с лотковыми пролет­ными строениями, эстакадные мосты с подземными водовмещающими и водопропускными каналами.

Свайно-тоннельные водопропускные сооружения представля­ют собой конструкцию, расположенную в нижней части насыпи земляного полотна в виде тоннельной полости или щели необхо­димой толщины, образованной рядами свай с плитами-насадка­ми и заборными стенками-плитами, служащей для беспрепятст­венного пропуска водотока с постоянно действующей наледью.

Применение этих сооружений в качестве противоналедного средства основано на минимальном нарушении местных инже­нерно-геологических, гидрологических и гидрогеологических ус­ловий, являющихся обычно мощными факторами наледеобразования.

П

Рис. 5. Протнвоналедный мост-труба:

1 — уровень подруслового потока; 2— гра­ница аллювия

ротивоналедные мосты-трубы (рис. 5), как предыдущие конструкции, минимально нарушают природные условия и явля­ются их аналогами. Они состоят из свай, насадок, плит перекры­тия, стеновых плит и лоткового элемента с утеплителем.

Эстакадные засыпные мосты с лотковым пролетным строени­ем, рекомендуемые в качестве эффективных противоналедно-водопропускных сооружений, сохраняют все преимущества легких свайно-эстакадных мостов и устраняют их значительный недостаток — легкую выпучиваемость опор. Конструкция таких засыпных мостов представляет собой лотковое пролетное строе­ние из сборных элементов, установленное через насадки на опоры из свай-оболочек.

Лотковое пролетное строение состоит из плит перекрытия, имеющих по краям вертикальные стенки, образующие лоток, за­сыпаемый скальным или дренирующим грунтом, по верху кото­рого укладывают верхнее строение железнодорожного пути или устраивают проезжую часть автомобильной дороги. Во избежа­ние высыпания грунтов насыпи в русло водотока с наружной стороны свайных опор устанавливают плитное ограждение, кото­рое у входной и выходной части русла разводится в стороны, ликвидируя конусы насыпи.

В случае необходимости конструкция таких сооружений мо­жет быть и многопролетной. Эстакадные мосты с лотковыми пролетными строениями являются эффективными защитными противоналедными средствами, позволяющими русловым нале­дям беспрепятственно проходить через них.

Эстакадные мосты с подземными водовмещающими каналами

п

Рис. 6. Эстакадный мост с подземным водовмещающим каналом:

1 — поверхность наледи до постройки водовмещающего канала; 2 — подземный водовмещающий канал


редставляют собой почти обычную конструкцию мостов, главной особенностью которой является наличие под мощением рус­ла специального водовмещающего канала, служащего для про­пуска как подрусловых, так и русловых потоков без их промер­зания, и, следовательно, образования наледей (рис. 6).

В качестве каналов могут быть использованы продольные траншеи, засыпанные крупноглыбовым скальным грунтом, а так­же железобетонные трубы больших диаметров. Кроме того, можно применять остатки срубленных призматических свай, остающиеся после постройки эстакадных мостов, для устройства подземных проходных лотков с теплоизоляцией, которые должны начинать­ся и заканчиваться каменной фильтрующей кладкой или отеп­ленной засыпкой из скального грунта в виде своеобразных вход­ных и выпускных оголовков выше и ниже мостового перехода.

Осушительные устройства и сооружения

В соответствий с применяемой терминологией все осушитель­ные устройства и сооружения, используемые в качестве средств противоналедной борьбы, разделяют на дренажные и каптажные.

К дренажным противоналедным устройствам относится от­крытый дренаж в виде осушительных канав и лотков, а также закрытые дренажи-преградители с водонепроницаемыми экра­нами и перфорированными трубами с засыпным фильтром, с трубофильтрами из фильтрационного бетона, из дренажных экран­ных плит из фильтрационного бетона, из сборных шпунтовых дренажных элементов из фильтрационного бетона, из сборных экранных электроосмотических элементов криогенной конструк­ции.

Открытый дренаж в виде осушительных канав и лотков (рис. 7) рекомендуется применять на сильно заросших таежной растительностью бортах речных долин и горных склонов с нали­чием заболоченных террас, подстилаемых элювиально-делюви­альными отложениями.

Как правило, борьба с такими наледями очень затруднена, так как даже хорошо выполненные противоналедные дренажи закрытого типа не всегда могут поглотить все горизонты подзем­ных вод или необходимо устраивать несколько ярусов, в то вре­мя как открытые канавы и лотки легко справляются с этой за­дачей.

Кроме того, открытые дренажи являются особенно эффектив­ными в условиях смешанного питания наледей поверхностными и подземными водами, то выходящими на поверхность из глыбово-россыпных отложений склонов, то вновь поглощаемыми ими.

Для успешного применения таких средств противоналедной борьбы можно также рекомендовать использовать на водоот­водных участках сборные железобетонные лотковые элементы в виде полуколец с откидными крышками со слоями эффективно­го утеплителя, например пенопластового (рис. 8).

З

Рис. 8. Конструкция водоотводной канавы и лотка из железобетонных полу­колец с утеплителем:

1 — откидывающаяся крышка с теплоизоляцией; 2 — снег; 3 — железобетонное полукольцо;

4 — слой пенопласта; 5 — шарнир

Рис. 7. Открытый дренаж в виде осушительных канав и лотков: 1— поверхность наледи до устройства открытых дренажных канав; 2 — осушительные канавы

акрытые дренажи с водонепроницаемыми экранами
(рис. 9) традиционно применяют для борьбы с наледями грунтовых вод. Они представляют собой перфорированные керамические, асбо­цементные или фанерные трубы со слоем фильтра и дренирующей засыпки, укладываемые в траншеи глубиной 2— 4 м. Основной особенностью этих дренажей является наличие со стороны защи­щаемого сооружения водонепроницаемого экрана из' мятой гли­ны или дощатых шпунтовых щитов с наклеенными на них слоями гидроизоляции из рубероида или мешковины на битумной масти­ке.

Качественное устройство правильно запроектированных противоналедных дренажных сооружений такой конструкции почти полностью гарантирует ликвидацию наледного образования, од­нако требует применения ручного труда. Кроме того, в сложных грунтовых условиях, когда необходимо усиленное крепление стенок траншей, обеспечить качественное выполнение работ затруд­нительно, а доставка дренирующего грунта, перфорированных труб и других материалов на косогорные участки требует пред­варительного устройства временных подъездов, осуществление которых уже само по себе может вызвать появление новых нале­дей.

Несмотря на большую тру­доемкость устройства таких дренажных сооружений и высо­кую стоимость, их долговечность на участках вечной мерзлоты бывает невелика.

З

Рис. 9. Закрытый дренаж с водонепроницаемыми экраном, перфорированными

трубами с засыпным фильтром:

1 — поверхность наледи до устройства дренажа; 2 — перфорированные трубы

Рис. 10. Длинномерные дренажные блоки длиной в 6 м для устройства дренажа

акрытые дренажи с труба­
ми из фильтрационного бетона (трубофильтрами) (рис. 10) представляют собой долговеч­ную и надежную конструкцию, не требующую устройства креп­ления стенок траншей и позво­ляющую полностью механизиро­вать работы благодаря приме­нению специальных дренажеров-укладчиков.


Закрытые дренажи из экранных плит фильтрационного бето­на (рис. 11) позволяют полностью механизировать работы по устройству дренажей, в том числе дренажей-преградителей, глав­ной особенностью которых является наличие на сборных секциях водонепроницаемого экрана со стороны ограждаемого соору­жения.

При устройстве таких противоналедных сооружений можно с успехом применять легкие баровые дренажные машины конст­рукции Е. В. Шушакова (рис. 12), с помощью которых не только отрывают траншеи глубиной до 5 м и шириной до 0,5 м в мерз­лом грунте на косогорных участках, но и устанавливают в них дренажные секции.


З

Рис. 12. Дренажная баровая машина для устройства дренажных сооружений в обычных, мерзлых и скальных грунтах

Рис. 11. Конструкция противоналедного дренажа, выполненного из плит филь­трационного бетона:

1 — экран из плотного бетона с оклеенной гидроизоляцией со стороны ограждаемого объекта; 2 — уровень наледи до устройства дренажа

акрытые дренажи из сборных шпунтовых элементов
(рис. 13) разработаны недавно и еще не нашли широкого применения, од­нако в определенных грунтовых условиях они могут дать боль­шой экономический эффект за счет исключения земляных и пол­ной механизации других работ но их устройству.

Учитывая, что устройство противоналедных дренажно-шпунтовых сооружений связано с необходимостью использования спе­циальных механизмов — вибропогружателей, электростанций и кранов — рекомендуется применять сборные шпунтовые дрена­жи в основном при новом строительстве.

Закрытые дренажи, основан­ные на новых принципах техни­ческой мелиорации грунтов, пред­ставляют собой индустриальные конструкции сборных дренажей, использующие, кроме гравита­ционного перемещения воды в грунтах, и другие способы их осушения: вакуумный, капилляр­ный, электроосмотический, крио­генный и др.

Закрытый дренаж электроосмотической конструкции (рис. 14) основан на принципе перемещения воды от положительного элек­трода к отрицательному и рекомендуется для т

Рис. 13. Закрытый дренаж из сбор­ных (шпунтовых) элементов:

1 — острие дренажного элемента из Же­лезобетона; 2 — овоидальиый водоотводный канал; 3 — стенка из железобетона; 4 — шпунт н гребень на торцовых стен­ках, служащие для соединения отдельных секций; 5 — стержни дли крепления виб­ропогружателей; 6 — рама фильтрующей части; 7 — фильтру кип л я (многослойная) часть, заменяемая после заиливания из крупнопористого бетой я и песчаного пластбетонного фильтра

онкодисперсных грунтов, в которых почти вся вода находится в физически связанной форме, не подчиняется гравитационным силам и не отте­кает в дренажи, чем в основном и объясняется наблюдаемая ма­лая эффективность обычных дренажных устройств.

В случае применения электроосмотического дренажа положе­ние резко меняется — особый импульсный электрический ток напряжением всего в несколько вольт, получаемый от аккуму­ляторной батареи или через понижающий трансформатор и пре­образователь от осветительной или силовой сети, превращает физически связанную воду в гравитационную, которая начинает поступать в дренажные элементы и отводиться за пределы ограж­даемого участка. Положительным электродом служит голый стальной провод, во избежание коррозии покрываемый графитовой смазкой, который укладыва­ют и л глубине 0,5—0,8 м над осушаемым участком, а отрица­тельным — арматура сборных дренажных элементов, выполняе­мых в виде блоков, плит или длинномерных элементов.

Закрытый дренаж криогенной конструкции (рис. 15) основан па принципе перемещения под­земных вод к фронту промерза­ния и рекомендуется для участ­ков с распространением тонко-дисперсных грунтов. Он состоит из блоков, выполненных из плот­ного морозостойкого бетона с фильтрующими вставками (из морозостойкого бетона или пла­стобетона), в нижней части ко­торых имеется водоотводный канал в виде железобетонного лотка со щелями в стенках.

К

Рис. 14. Закрытый противоналедный дренаж электроосмотической кон­струкции:

1 — положительный электрод (провод); 2 — поверхность откоса; 3 — засыпной фильтр из песка; 4 — монтажные петли, служащие для прикрепления соедините­лей; 5 — водоотводной канал; б — сбор­ные дренажные элементы с отрицатель­ным электродом; 7 — арматура дренаж­ных элементов, служащая отрицатель­ным электродом

роме того, разработана кон­струкция двухъярусного криоген­ного дренажа, верхняя часть ко­торого работает как криогенная (в зимнее время), а нижняя часть — попеременно (как криогенная — зимой и как обычная гравитационная — летом).

О

Рис. 15. Закрытый дренаж криоген­ной конструкции:

1 — выходы ключей; 2 — криогенный двухъярусный дренаж: 3 — линзы льда под основной площадкой земляного по­лотна, приводящие к образованию буг­ров пучения до устройства дренажа

сновной принцип работы таких дренажей заключается в том, что с наступлением устойчивого понижения температуры воздуха в зимнее время начинается ускоренное промерзание грун­та, сопровождаемое явлением миграции воды, содержащейся в нем, к фронту промерзания.

К каптажно-осушительным противоналедным устройствам относятся каптажные противоналедные устройства, пластово-откосные каптажные устройства засыпного типа или сборного типа из плит фильтрационного бетона.

К

Рис. 16. Каптажное противоналедное устройство с пропуском наледных вод по коллектору под земляным полотном:

1 — направление потока подземных вод;2 — водоотводные канавы; 3 — водоприемный люк с электроподогревателными элементами (решеткой); 4 — верхний водоприемно-смотровой колодец; 5 — верхний водоотводный коллектор: 6 - У-образный каптаж; 7 — нижний водоприемно-смотровой колодец; 8 — электрораспределительное силовое устройство; 9 — нижний водоотводный коллектор; 10 — выпуск каптированных вол

аптажные противоналедные устройства
(рис. 16) представ­ляют собой весьма эффективное средство протнвоналедной борь­бы. Общим признаком разнообразных конструкций этих устройств является наличие на пути подземных вод, питающих наледи, каптажной стенки из камня, каменной выкладки на мху или засып­ки из крупного галечника с валунником. Хорошо зарекомендо­вала себя У-образная (в плане) каптажная стенка, устраиваемая в широких траншеях, отрываемых в грунтах, со слоями верти­кального или наклонного фильтра со стороны потока подземных вод и водонепроницаемого экрана со стороны сооружения.

Каптированные грунтовые воды подрусловых аллювиальных отложений легко транспортируются за пределы ограждаемого участка железной дороги по водоотводному коллектору, уклады­ваемому под земляным полотном или пропускаемому в отверстии самой водопропускной трубы, если уклон местности позволяет это сделать (рис. 17).

Пластово-откосные каптажные устройства из сборных плит представляют собой слой фильтра из песчано-гравийной смеси, насыпаемой на спланированную поверхность откоса выемки земляного полотна с многочисленными рассеянными выходами горизонтов подземных вод, на который укладывают сборные плиты из фильтрационного бетона.

В

Рис. 17. Каптажное противоналедное устройство с пропуском наледных вод по коллектору, укрепляемому на кронштейнах внутри отверстия водопропускной трубы:

1 — уровень наледей до сооружения каптажного устройства: 2 — У-образное каптажное устройство; 3 — выходы ключей; 4 — водоприемно-смотровой колодец; 5 — водоотводная канава; 6 — водоотводный коллектор; 7 — водопропускная труба; 8 — выпуск каптиро­ванных вод


нижней части откоса устраивают дренажную траншею, в которую укладывают длинномерные дренажные элементы, при­нимающие подземные воды и отводящие их за пределы ограж­даемого участка.

Регуляционные противоналедные мероприятия

К таким регуляционным противоналедным мероприятиям от­носятся: углубление и спрямление русел рек, устройство каменно-земляных дамб для создания подпора с целью ликвидации перекатов и мелководий концентрация водных потоков сужени­ем русел, устройством водоотводных каналов и лотков, устройст­вом искусственных подрусловых каналов для концентрированно­го пропуска подземных вод аллювиальных отложений.

Все эти мероприятия, за исключением последнего, просты, од­нако противоналедный эффект от них может быть достаточно высок. Поэтому при строительстве и эксплуатации дорог на Се­вере их следует повсеместно применять для ликвидации или зна­чительного уменьшения русловых наледей.

Что касается устройства подрусловых каналов для концент­рированного пропуска подземных (грунтовых) вод в аллювиаль­ных отложениях, рассмотренного выше, то применение их следует расширять благодаря весьма высокой эффективности и малой стоимости»

Мероприятия и устройства, вызывающие таяние льда и подогрев наледных вод

Такие иротивоналедные мероприятия могут быть как сезон­ного, так и постоянного типа. К мероприятиям сезонного типа относятся засоление наледного льда, таяние льда электронагре­вательными элементами и греющими кабелями от передвижных электростанций, паровыми иглами от передвижных локомоби­лей, сжиганием жидкого и твердого топлива в открытых метал­лических емкостях, специальными льдотающими агрегатами.

Засоление наледного льда, основанное на понижении точки замерзания воды в зависимости от количества .растворенных в ней солей, довольно широко применяют .на многих автомобиль­ных дорогах для борьбы с гололедными образованиями.

Кроме хлористых солей натрия и кальция, исходя из опыта ГДР можно рекомендовать хлористый магний, понижающий точ­ку замерзания водного раствора почти до — 40°

Таяние льда электронагревательными элементами и греющи­ми кабелями от передвижных электростанций оказывается экономически выгодным по сравнению с ручным скалыванием и уда­лением наледного льда, несмотря на относительно высокую стои­мость электроэнергии.

Для обслуживания одного, а иногда и нескольких перегонов с наледными участками достаточно одной передвижной электро­станции, установленной на вездеходе или автомобиле высокой проходимости, обслуживаемой водителем-мотористом, который периодически (4—5 раз в сутки) совершает челночные рейсы. У наледного объекта водитель-моторист подключает ранее уложен­ные нагревательные элементы или греющие кабели к распредели­тельному щиту передвижной электростанции, вызывая таяние на­ледного льда или подогрев наледных вод.

На наледный участок можно также доставлять небольшие пе­реносные электростанции, работа которых в течение нескольких суток может полностью ликвидировать наледную опасность, так как подогретые наледные воды вызывают протаивание наледного льда с образованием внутри него довольно значительных каналов и полостей, по которым наледные воды могут циркулировать, не замерзая, довольно продолжительное время.

Таяние льда сжиганием жидкого или твердого топлива, не­смотря на его кажущуюся малую эффективность, применяют на многих отечественных и зарубежных дорогах главным образом благодаря его простоте, дешевизне и довольно ощутимым резуль­татам при правильном использовании для борьбы с русловыми, грунтовыми и смешанными наледями.

Наиболее простым вариантом этого способа является сжига­ние дров в порожних металлических бочках от топлива со срезан­ными верхними днищами, тепло от которых передается льду, об­разуя его интенсивное таяние и ускоряя подогрев наледных вод.

И

Рис. 18. Таяние наледного льда с применением льдотающего агрегата: 1 — льдотающий агрегат; 2 — поверхность наледи; 3 — канава для отвода воды

ногда вместо дров в качестве топлива используют соляро­вое масло, сжигаемое через форсунки или капельницы, питаемые от бачков, устанавливаемых на некоторой высоте над бочками, которые сначала быстро погружаются в оттаиваемый наледный лед, а затем стабилизируются в нем.

Таяние льда с применением агрегатов (рис. 18) является эф­фективным противоналедным средством. Такие агрегаты пред­ставляют собой устройства, аналогичные применяемым на строи­тельстве гражданских зданий для сушки стен («огнеметам»). Они работают на соляровом топливе, но имеют систему жаровых труб, по которым горячие газы отводятся от топки, вызывая тая­ние наледного льда и подогрев наледных вод.

Этот способ борьбы с наледями по сравнению с таянием льда сжиганием дров в металлических бочках более эффективен и эко­номичен, поэтому может рекомендоваться к широкому использо­ванию на эксплуатируемых дорогах.

К постоянным устройствам для таяния льда и подогрева на­ледных вод относятся обогрев проезжей части дорог, днищ водо­токов, лотков труб, мостовых русел электрическими нагреватель­ными элементами, встроенными в конструкции дорожных соору­жений, а также за счет геотермальной энергии, с помощью го­рячей воды, пара или горячего воздуха, подогрев русловых вод поплавками и рамочными электронагревательными элементами.

Обогрев проезжей части автомобильных дорог, лотков водо­пропускных труб и мостовых русел электрическими нагревателями, как показывает опыт его применения, может быть очень эффек­тивным противоналедным средством, однако его можно применять при наличии источников электроэнергии.

Обогрев дорожных сооружений и устройств горячей водой и паром рекомендуется при возможности получения этих тепло­носителей (в виде отходов производства с промышленных пред­приятий). Наиболее реальна организация такой противопаледной борьбы на заводских территориях, подъездных путях .и дорогах, особенно в населенных пунктах.

Этот способ борьбы с наледями исключительно надежен и прост, позволяет успешно осуществлять борьбу с наледями даже на больших водотоках с минимальными затратами на эксплуата­цию устройств.

П

Рис. 19. Подогрев русловых вод рамочными электронагревательными элементами

1 — рамочные электронагревательные элементы: 2 — верхний максимальный уровень на­леди до установки электронагревателей; 3 — понижающий трансформатор и ячейки авто­матики; 4 — датчик температуры; 5 — клеммные . коробки

одогрев русловых вод поплавковыми и рамочными электро­
нагревателями (рис. 19) аналогичен описанным выше способам противоналедной борьбы с применением электронагревательных элементов, за исключением того, что они не встроены в конструк­ции сооружений, а устанавливаются перед ними на постоянно действующих водотоках. Поплавковые водонагреватели в основ­ном предназначаются для борьбы с наледями, образующимися в канавах, кюветах и лотках вблизи земляного полотна и искус­ственных сооружений.

Заграждающие противоналедные мероприятия и устройства.

Заграждающие противоналедныо средства бывают постоян­ными и сезонными. К сезонным средствам относятся сезонные русловые и грунтовые мерзлотные пояса, снеговые и снежно-ле­довые валы, щитовые, дощатые и шпальные заборы, заграждения из промороженной мешковины.

С

Рнс. 20. Сезонные русловые мерзлот­ные пояса:

1 — мерзлотный пояс; 2 — вал из снега, льда или грунта; 3 — ось дороги

езонные русловые и грунтовые мерзлотные пояса
(рис. 20 и 21) представляют собой участки местности у ограждаемых соо­ружений, с которых удаляют растительный покров, лес и кустар­ник, а в начале зимнего периода и снег, который также перио­дически очищают зимой. Их применение основано на создании водонепроницаемых экранов на пути русловых и грунтовых вод­ных потоков за счет ускоренного промерзания русел рек и грун­тов деятельного слоя с последующим образованием наледей в удалении от ограждаемых дорожных сооружений.

Снеговые и снежно-ледовые валы (рис. 22) служат для борь­бы с грунтовыми и смешанными (руслово-грунтовыми) наледя­ми. Как правило, эффективность их мала, так как наледные во­ды могут легко фильтровать че­рез эти валы, хотя их с

Рис. 21. Сезонные грунтовые мерзлотные пояса:

1 — очертание деятельного слоя после устройства пояса; 2 — граница деятельного слоя

до устройства пояса; 3 — выходы надмерзлотных вод после устройства поясов; 4 — мерзлотный пояс: 5 — наледь после устройства пояса; 6 — нагорная канава; 7 — наледь до устройства пояса; 8вечная мерзлота; 9 — уровень надмерзлотных вод

Рис. 22. Снеговые (снежно-ледовые) валы, совмещенные с мерзлотными поясами:

1 — уровень вечной мерзлоты; 2 — уровень воды; 3 — граница промерзания в первую по­ловину зимнего периода; 4 — слой снега; 5 — выходы наледных вод; 6 — наледь: 7 —

снеговой вал

тараются сделать водонепроницаемыми, обливая водой. Кроме того, устройство их также требует приме­нения ручного труда.

Щ

Рис. 23. Щитовые заборы:

1— нисходящий источник; 2 — наледь; 3 — противоналедный забор

итовые заборы
(рис. 23) в отличие от снеговых валов уста­навливать легче, так как они со­стоят из готовых секций. Однако для создания водонепроницаемо­сти стыков между секциями щи­тового забора их приходится уп­лотнять мокрым снегом и зали­вать водой, что является трудоем­кой и нежелательной операцией. Дощатые и шпальные заборы (рис. 24) но сравнению с щитовыми требуют больших трудовых затрат на установку, но более эффективны, так как почти не имеют водопроницаемых стыков, если изготовлены из шпунтованных досок.

Заграждения из промороженной мешковины могут рекомендо­ваться в качестве временного противоаварийного мероприятия. Этот метод борьбы с наледями аналогичен предыдущим, но от­личается легкостью устройства (рулонные полотнища прикреп­ляют к заранее установленным стойкам и, увлажняя, промора­живают).

К постоянным заграждающим противоналедным устройствам относятся: русловые мерзлотные пояса с применением заморажи­вающих установок автоматического типа, грунтовые мерзлотные пояса в виде поперечных широких канав с валами или с применением замораживающих установок автоматического типа, земляные валы со шлюзами, фильтрующие дамбы из крупноглыбного грунта, водонепроницаемые экраны, постоянные дощатые заборы, ряжевые стенки с каменным заполнением, железобетонные плит­ные заборы.

Р

Рис. 24. Дощатый (шпальный) забор


Рис. 25. Русловой мерзлотный пояс с применением замораживающей установки автоматического типа для образования ледяных дамб:

I — трубы подняты; II трубы опущены; 1 — обсадные трубы; 2 — эстакадный мостик; 3 — замораживающие трубы Гапссоа


условые мерзлотные пояса с применением замораживающих
установок автоматического типа (рис. 25) отличаются от обычных русловых мерзлотных поясов применением автоматических замо­раживающих установок в виде труб, заполненных керосином, ко­торые в летнее время поднимают на специальную раму или эста­каду в виде легкого мостика. В зимнее время их опускают и рус­ло реки и сразу же включают в работу, намораживай в течение лишь нескольких суток устойчивую ледяную дамбу.

Грунтовые мерзлотные пояса в виде поперечных широких канав с валами представляют собой резерв, из которого при бла­гоприятных грунтовых условиях отсыпают земляной вал.

Земляные валы со шлюзами-щитами наиболее эффектив­ны на наледных участках со смешанными руслово-грунтовыми наледными водами.

Главное отличие их от предыдущих конструкций — примене­ние в средней части земляного вала, обычно находящейся в об­ласти тальвега лога с постоянно действующим ручьем, шлюза в виде подъемного или закладного щита, опускаемого в начале зимнего сезона и поднимаемого с началом таяния наледного льда весной. Применением такого противоналедного сооружения уда­ется на ряде наледных участков накопить большое наледное по­ле и не допустить выхода наледи к защищаемому сооружению. Иногда эффективно борются с наледями, устраивая на водотоке несколько валов со шлюзами-щитами.


Фильтрующие дамбы из крупноглыбового скального грунта предназначены для борьбы со смешанными наледями на косогорных участках, а также на незначительных по расходу постоянно действующих водотоках. Такие противоналедные сооружения не требуют приведения их в рабочее состояние, так как являются самонастраивающимися на летний и зимний режимы работы.

Для ускоренного охлаждения тела фильтрующих дамб в на­чале зимнего периода применяют вентиляционные короба, зак­ладываемые в каменную кладку при устройстве дамб, по которым циркулирует холодный воздух, вызывая замерзание фильтрующих наледных вод.

Водонепроницаемые экраны служат для борьбы с грунтовыми наледями и выполняются из деревянного шпунта или мятой гли­ны. Как правило, они самостоятельно не применяются, а только дополняют другое противоналедное сооружение (земляной вал или мерзлотный пояс).

Постоянные дощатые заборы в основном применяют для борь­бы со смешанными руслово-грунтовыми наледями или русловыми наледями на постоянно действующих водотоках с небольшими расходами (типа рассеянно-ключевых вод на косогорных участ­ках). Практика показала, что эффективность таких устройств не­достаточна, так как перед наступлением зимнего сезона их тре­буется приводить в рабочее состяние — закрывать щитами русло водоотводных канав, а также тщательно конопатить все щели и стыки.

Ряжевые стенки с каменным заполнением являются развити­ем описанных выше противоналедных устройств в виде фильтру­ющих дамб, но в отличие от них менее подвержены деформациям пучения, а также требуют меньше камня для устройства. Приме­нять их наиболее целесообразно для борьбы со смешанными, а также русловыми наледями. В последнем случае рекомендуется дополнительно использовать подъемные или закладные шлюзы-щиты в средней части, совпадающие с тальвегом лога, а также водонепроницаемые экраны и автоматические замораживающие установки.

Железобетонные плитные заборы — долговечные противоналедные устройства, хотя и требуют более значительных капиталовложений. Они менее подвержены различного рода деформаци­ям, например пучению, от которых сильно страдают дощатые заборы.

Конструкции этих заборов могут быть разнообразными и за­висят от местных инженерно-геологических условии, но обяза­тельно должны иметь стойки-сваи с противонучинными устройст­вами заанкеривающего типа, а также щиты в виде тонкостенных железобетонных л лит. Основным недостатком их является необхо­димость перевода на летний или зимний режим работы.

Отепляющие противоналедные мероприятия

К весьма аффективным противоналедным мероприятиям кон­структивного типа, способным не только значительно ослабить, но даже полностью ликвидировать наледи, относятся отепляющие мероприятия:

  • нанесение на стенки и днища лотком, каналов, канав защит­ных теплоизоляционных покрытий;

  • установка навесных щитовых теплоизоляционных крышек над каналами, лотками и канавами;

  • перевод зимнего расхода на подземный сток переключением его в специально устраиваемые коллекторы и каналы;

  • устройство краткосрочных подпоров воды для образования ледяных кровель над водными потоками;

  • устройство отепляющих настилов над канавами, лотками и рус­лами открытых водных потоков

  • концентрация водных потоков пропуском их в узких лотках.

Эти .средства противоналедной борьбы отличаются простотой и высокой надежностью, поэтому рекомендуются к широкому при­менению.

Нанесение на стенки и днища лотков, каналов и канав защит­ных термоизоляционных покрытий применяется для снижения тепловых потерь в руслах водотоков и может быть довольно эффективным мероприятием. В качестве покрытий можно исполь­зовать различные материалы (от неноэпоксида до деревянной об­лицовки).

Установка теплоизоляционных щитов и крышек над водоотвод­ными канавами, лотками и каналами позволяет снизить тепловые потери в атмосферу и может быть весьма эффективным мероприя­тием против образования русловых наледей. Их изготовляют из теплоизоляционных материалов (аналогично рис. 9) в виде лег­ких навесных конструкций, устанавливаемых в рабочее положе­ние в начале .зимнего сезона.

Перевод зимнего расхода открытых водных потоков на подзем­ный сток очень эффективен при борьбе с русловыми наледями. Для этого можно использовать обычные коллекторы, оборудован­ные водоприемными колодцами, или водовмещающие каналы, описанные выше.

Устройство краткосрочных подпоров воды на постоянно дейст­вующих водотоках для образования над ними ледяных кровель не требует каких-либо капиталовложений для своего осуществления. Подпоры можно получить установкой дощатых закладных щитов между стойками, предварительно забитыми в русло водотока. Сразу же после установления устойчивого ледяного покрова щиты поднимают, вызывая падение уровня воды с образованием над ним теплоизоляционного воздушного слоя.

О

Рис. 26. Отепляющий настил:

1 — жерди; 2 — снег; 3 — мох или торф: 4 — хворост


тепляющие настилы над канавами, лотками и каналами уст­раивают из жердей, укладываемых поперек водотока, и слоя ве­ток хвойных деревьев, быстро заносимых снегом и завершающих конструкцию такого противоналедного устройства (рис. 26). Эти противоналедные средства широко применяют на автомобильных и железных дорогах. К их недостаткам следует отнести потреб­ность в ручном труде, а также ежегодную рубку хвойного лапни­ка или кедрового стланника, что не удовлетворяет требованиям защиты окружающей среды.


Заключение.

Список литературы.


  1. Шушаков Е.В. Наледи и борьба с ними. М., 1979

  2. Рябов В.К., Полин Ю.К., Шушаков Е.В. Методические рекомендации для борьбы с наледями. Хабаровск, 1974. 61 с. (ХПИ)

  3. Толстихин О.Н. В краю наледей. Л. Гидрометеоиздат, 1978. 94 с.

  4. Чекотило А.М., Цвид А.А., Макаров В.Н., Наледи на территории СССР и борьба с ними. Благовещенск, Амурское книжное издательство, 1960. 207 с.

  5. Шушаков Е.В. Защита земляного полотна от наледей – В кн.: сооружение и эксплуатация земляного полотна из пылеватых грунтов. М., Транспорт, 1964, с. 159-187

  6. Инженерно-Геологические и мерзлые условия Дальнего Востока. Хабаровск, 1977


Содержание.


1.

Введение…………………………………………………………………………………………….

1

2.

Защитные противоналедные мероприятия……………………………………………………

1

3.

Специальные противоналедно-водопропускные сооружения………………………………

3

3.1

Эстакадные засыпные мосты с лотковым пролетным строени­ем…………………………...

3
3.2

Эстакадные мосты с подземными водовмещающими каналами………………………...

4

4.

Осушительные устройства и сооружения…………………………………………………..

4

4.1

Открытый дренаж в виде осушительных канав и лотков………………………………………

4
4.2

Закрытые дренажи с водонепроницаемыми экранами…………………………………………

5
4.3

Закрытые дренажи с труба­ми из фильтрационного бетона (трубофильтрами)……………………

6
4.4

Закрытые дренажи из экранных плит фильтрационного бето­на……………………………………..

6
4.5

Закрытые дренажи из сборных шпунтовых элементов…………………………………………

7
4.6

Закрытый дренаж электроосмотической конструкции………………………………………….

7
4.7

Закрытый дренаж криогенной конструкции………………………………………………

8
4.8

Каптажные противоналедные устройства………………………………………………………...

9

5.

Регуляционные противоналедные мероприятия…………………………………………..

10

6.

Мероприятия и устройства, вызывающие таяние льда и подогрев наледных вод……..

10

6.1

Засоление наледного льда………………………………………………………………………..

10
6.2

Таяние льда электронагревательными элементами и греющи­ми кабелями от передвижных электростанций……………………………………………………………………

11
6.3

Таяние льда сжиганием жидкого или твердого топлива……………………………………

11
6.4

Таяние льда с применением агрегатов…………………………………………………………..

11
6.5

Обогрев проезжей части автомобильных дорог, лотков водо­пропускных труб и мостовых русел электрическими нагревателями……………………………………………………………..

11
6.6

Обогрев дорожных сооружений и устройств горячей водой и паром……………………….

12
6.7

Подогрев русловых вод поплавковыми и рамочными электро­нагревателями………………….

12

7.

Заграждающие противоналедные мероприятия и устройства………………………………...

12

7.1

Сезонные русловые и грунтовые мерзлотные пояса…………………………………………

12
7.2

Снеговые и снежно-ледовые валы…………………………………………………………….

12
7.3

Щитовые заборы……………………………………………………………………………………

13
7.4

Заграждения из промороженной мешковины……………………………………………………

13
7.4

Русловые мерзлотные пояса с применением замораживающих установок автоматического типа…………………………………………………………………………...

14
7.5

Грунтовые мерзлотные пояса……………………………………………………………..

14
7.6

Земляные валы со шлюзами-щитами…………………………………………………

14
7.7

Фильтрующие дамбы из крупноглыбового скального грунта………………………………..

15
7.8

Водонепроницаемые экраны………………………………………………………………………...

15
7.9

Постоянные дощатые заборы……………………………………………………………………...

15
7.10

Ряжевые стенки с каменным заполнением………………………………………………………

15
7.11

Железобетонные плитные заборы…………………………………………………………………..

15

8.

Отепляющие противоналедные мероприятия…………………………………………………...

15

9.

Заключение…………………………………………………………………………………………

16

10.

Список литературы……………………………………………………………………………….

17


 
© 2012 Рефераты, доклады, дипломные и курсовые работы.