реферат
Главная

Рефераты по биологии

Рефераты по экономике

Рефераты по москвоведению

Рефераты по экологии

Краткое содержание произведений

Рефераты по физкультуре и спорту

Топики по английскому языку

Рефераты по математике

Рефераты по музыке

Остальные рефераты

Рефераты по авиации и космонавтике

Рефераты по административному праву

Рефераты по безопасности жизнедеятельности

Рефераты по арбитражному процессу

Рефераты по архитектуре

Рефераты по астрономии

Рефераты по банковскому делу

Рефераты по биржевому делу

Рефераты по ботанике и сельскому хозяйству

Рефераты по бухгалтерскому учету и аудиту

Рефераты по валютным отношениям

Рефераты по ветеринарии

Рефераты для военной кафедры

Рефераты по географии

Рефераты по геодезии

Рефераты по геологии

Реферат: Системы автоматического управления

Реферат: Системы автоматического управления

Омский авиационный техникум им. Н. Е. Жуковского

Р Е Ф Е Р А Т

по дисциплине «Электротехника»

тема: «Системы автоматического управления»

Выполнил:                                                                                          Проверил:

ст. гр. С-66                                                                                   преподаватель

Макаренко Е. В.                                                                        Полунина А. М.                      

2003

Автоматика, отрасль науки и техники, охватывающая теорию и принципы построения систем управления, действующих без непосредственного участия человека; в узком смысле - совокупность методов и технических средств, исключающих участие человека при выполнении операций конкретного процесса. Как самостоятельная область техники А. получила признание на 2-й Мировой энергетической конференции (Берлин, 1930), где была создана секция по вопросам автоматического и телемеханического управления. В СССР термин "А." получил распространение в начале 30-х гг.

А. как наука возникла на базе теории автоматического регулирования, основы которой были заложены в работах Дж. К. Максвелла (1868), И. А. Вышнеградского (1872-1878), А. Стодолы (1899) и др.; в самостоятельную научно-техническую дисциплину окончательно оформилась к 1940. История А. как отрасли техники тесно связана с развитием автоматов, автоматических устройств и автоматизированных комплексов. В стадии становления А. опиралась на теоретическую механику и теорию электрических цепей и систем и решала задачи, связанные с регулированием давления в паровых котлах, хода поршня паровых и частоты вращения электрических машин, управления работой станков-автоматов, АТС, устройствами релейной защиты. Соответственно и технические средства А. в этот период разрабатывались и использовались применительно к системам автоматического регулирования Интенсивное развитие всех отраслей науки и техники в конце 1-й половины 20 в. вызвало также быстрый рост техники автоматического управления, применение которой становится всеобщим.

2-я половина 20 в. ознаменовалась дальнейшим совершенствованием технических средств А. и широким, хотя и неравномерным для разных отраслей народного хозяйства, распространением автоматических управляющих устройств с переходом к более сложным автоматическим системам, в частности в промышленности - от автоматизации отдельных агрегатов к комплексной автоматизации цехов и заводов. Существенной чертой является использование А. на объектах, территориально расположенных на больших расстояниях друг от друга, например крупные промышленные и энергетические комплексы, системы управления космическими летательными аппаратами и т. д. Для связи между отдельными устройствами в таких системах применяются средства телемеханики, которые совместно с устройствами управления и управляемыми объектами образуют телеавтоматические системы. Большое значение при этом приобретают технические (в т. ч. телемеханические) средства сбора и автоматической обработки информации, т. к. многие задачи в сложных системах автоматического управления могут быть решены только с помощью вычислительной техники. Наконец, теория автоматического регулирования уступает место обобщённой теории автоматического управления, объединяющей все теоретические аспекты А. и составляющей основу общей теории управления

Автоматическое управление в технике, совокупность действий, направленных на поддержание или улучшение функционирования управляемого объекта без непосредственного участия человека в соответствии с заданной целью управления. А. у. широко применяется во многих технических и биотехнических системах для выполнения операций, не осуществимых человеком в связи с необходимостью переработки большого количества информации в ограниченное время, для повышения производительности труда, качества и точности регулирования, освобождения человека от управления системами, функционирующими в условиях относительной недоступности или опасных для здоровья. Цель управления тем или иным образом связывается с изменением во времени регулируемой (управляемой) величины - выходной величины управляемого объекта. Для осуществления цели управления, с учётом особенностей управляемых объектов различной природы и специфики отдельных классов систем, организуется воздействие на управляющие органы объекта - управляющее воздействие. Оно предназначено также для компенсации эффекта внешних возмущающих воздействий, стремящихся нарушить требуемое поведение регулируемой величины. Управляющее воздействие вырабатывается устройством управления (УУ). Совокупность взаимодействующих управляющего устройства и управляемого объекта образует систему автоматического управления.

Система автоматического управления (САУ) поддерживает или улучшает функционирование управляемого объекта. В ряде случаев вспомогательные для САУ операции (пуск, остановка, контроль, наладка и т.д.) также могут быть автоматизированы. САУ функционирует в основном в составе производственного или какого-либо другого комплекса.

История техники насчитывает много ранних примеров конструкций, обладающих всеми отличительными чертами САУ (регулирование потока зерна на мельнице с т. н. "потряском", уровня воды в паровом котле машины Ползунова, 1765, и т. д.). Первой замкнутой САУ, получившей широкое техническое применение, была система автоматического регулирования с центробежным регулятором в паровой машине Уатта (1784). По мере совершенствования паровых машин, турбин и двигателей внутреннего сгорания всё более широко использовались различные механические регулирующие системы и устройства, достигшие значительного развития в конце 19 - начале 20 вв. Новый этап в А. у. характеризуется внедрением в системы регулирования и управления электронных элементов и устройств автоматики и телемеханики. Это обусловило появление высокоточных систем слежения и наведения, телеуправления и телеизмерения, системы автоматического контроля и коррекции. 50-е гг. 20 в. ознаменовались появлением сложных систем управления производственными процессами и промышленными комплексами на базе электронных управляющих вычислительных машин.

САУ классифицируются в основном по цели управления, типу контура управления и способу передачи сигналов. Первоначально перед САУ ставились задачи поддержания определённых законов изменения во времени управляемых величин. В этом классе систем различают системы автоматического регулирования (CAP), в задачу которых входит сохранение постоянными значения управляемой величины; системы программного управления, где управляемая величина изменяется по заданной программе; следящие системы, для которых программа управления заранее неизвестна. В дальнейшем цель управления стала связываться непосредственно с определёнными комплексными показателями качества, характеризующими систему (её производительность, точность воспроизведения и т. п.); к показателю качества могут предъявляться требования достижения им предельных (наибольших или наименьших) значений, для чего были разработаны адаптивные, или самоприспосабливающиеся системы. Последние различаются по способу управления: в самонастраивающихся системах меняются параметры устройства управления, пока не будут достигнуты оптимальные или близкие к оптимальным значения управляемых величин; в самоорганизующихся системах с той же целью может меняться и её структура. Наиболее широки, в принципе, возможности самообучающихся систем, улучшающих алгоритмы своего функционирования на основе анализа опыта управления. Отыскание оптимального режима в адаптивных САУ может осуществляться как с помощью автоматического поиска, так и беспоисковым образом.

Способ компенсации возмущений связан с типом контура управления системы. В разомкнутых САУ на УУ не поступают сигналы, несущие информацию о текущем состоянии управляемого объекта, либо в них измеряются и компенсируются главные из возмущений, либо управление ведётся по жёсткой программе, без анализа каких-либо факторов в процессе работы. Основной тип САУ - замкнутые, в которых осуществляется регулирование по отклонению, а цепь прохождения сигналов образует замкнутый контур, включающий объект управления и УУ; отклонения управляемой величины от желаемых значений компенсируются воздействием через обратную связь, вне зависимости от причин, вызвавших эти отклонения. Объединение принципов управления по отклонению и по возмущению приводит к комбинированным системам. Часто, помимо основного контура управления, замыкаемого главной обратной связью, в САУ имеются вспомогательные контуры (многоконтурные системы) для стабилизации и коррекции динамических свойств. Одновременное управление несколькими величинами, влияющими друг на друга, осуществляется в системах многосвязного управления или регулирования.

По форме представления сигналов различают дискретные и непрерывные САУ. В первых сигналы, по крайней мере в одной точке цепи прохождения, квантуются по времени, либо по уровню, либо как по уровню, так и по времени.

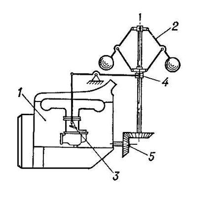
Простейший пример САУ - система прямого регулирования частоты вращения двигателя (рис. 1). Цель управления - поддержание постоянной частоты вращения маховика, управляемый объект - двигатель 1; управляющее воздействие - положение регулирующей заслонки дросселя 3; УУ - центробежный регулятор 2, муфта 4 которого смещается под действием центробежных сил при отклонении от заданного значения частоты вращения вала 5, жестко связанного с маховиком. При смещении муфты изменяется положение заслонки дросселя. Структурная схема рассмотренного примера (рис. 2) типична для многих САУ вне зависимости от их физической природы. Описанная система представляет собой замкнутую одноконтурную непрерывную систему автоматического регулирования механического действия, допускающую линеаризацию при исследовании.

Промышленность выпускает универсальные регуляторы, в том числе с воздействием по производной, по интегралу, экстремальные регуляторы, для управления различными объектами. Специализированные САУ широко применяются в различных областях техники, например: следящая система управления копировально-фрезерным станком по жёсткому копиру; САУ металлорежущих станков с программным управлением от магнитной ленты, перфоленты или перфокарты (преимущества такого управления заключаются в относительной универсальности, лёгкости перестройки программы и высокой точности обработки деталей); система программного управления реверсивным прокатным станом, включающая в свой контур управляющую вычислительную машину. В относительно медленных технологических процессах в химической и нефтяной промышленности распространены многосвязные САУ, осуществляющие регулирование большого количества связанных величин; так, при перегонке нефти информация о температуре, давлении, расходе и составе нефтепродуктов, получаемая от нескольких сотен датчиков, используется для формирования сигналов управления десятками различных регуляторов. САУ играют важную роль в авиации и космонавтике, например автопилот представляет собой САУ связанного регулирования, а иногда и самонастраивающуюся систему. В военной технике применяются высокоточные следящие системы, часто включающие вычислительные устройства (например, система углового сопровождения радиолокационной станции). При анализе многих физиологических процессов в живом организме, таких как кровообращение, регуляция температуры тела у теплокровных животных, двигательные операции, обнаруживаются характерные черты САУ.

Задачи синтеза устройств А. у. и анализа процессов в управляемых системах являются предметом теории автоматического управления.

Устойчивость системы автоматического управления, способность системы автоматического управления (САУ) нормально функционировать и противостоять различным неизбежным возмущениям (воздействиям). Состояние САУ называется устойчивым, если отклонение от него остаётся сколь угодно малым при любых достаточно малых изменениях входных сигналов. У. САУ разного типа определяется различными методами. Точная и строгая теория У. систем, описываемых обыкновенными дифференциальными уравнениями, создана А. М. Ляпуновым в 1892.

Все состояния линейной САУ либо устойчивы, либо неустойчивы, поэтому можно говорить об У. системы в целом. Для У. стационарной линейной СЛУ, описываемой обыкновенными дифференциальными уравнениями, необходимо и достаточно, чтобы все корни соответствующего характеристического уравнения имели отрицательные действительные части (тогда САУ асимптотически устойчива). Существуют различные критерии (условия), позволяющие судить о знаках корней характеристического уравнения, не решая это уравнение - непосредственно по его коэффициентам. При исследовании У. САУ, описываемых дифференциальными уравнениями невысокого порядка (до 4-го), пользуются критериями Рауса и Гурвица (Э. Раус, англ. механик; А. Гурвиц, нем. математик). Однако этими критериями пользоваться во многих случаях (например, в случае САУ, описываемых уравнениями высокого порядка) практически невозможно из-за необходимости проведения громоздких расчётов; кроме того, само нахождение характеристических уравнений сложных САУ сопряжено с трудоёмкими математическими выкладками. Между тем частотные характеристики любых сколь угодно сложных СЛУ легко находятся посредством простых графических и алгебраических операций. Поэтому при исследовании и проектировании линейных стационарных САУ обычно применяют частотные критерии Найквиста и Михайлова (Х. Найквист, амер. физик; А. В. Михайлов, сов. учёный в области автоматического управления). Особенно прост и удобен в практическом применении критерий Найквиста. Совокупность значений параметров САУ, при которых система устойчива, называется областью У. Близость САУ к границе области У. оценивается запасами У. по фазе и по амплитуде, которые определяют по амплитудно-фазовым характеристикам разомкнутой САУ. Современная теория линейных САУ даёт методы исследования У. систем с сосредоточенными и с распределёнными параметрами, непрерывных и дискретных (импульсных), стационарных и нестационарных.

Проблема У. нелинейных САУ имеет ряд существенных особенностей в сравнении с линейными. В зависимости от характера нелинейности в системе одни состояния могут быть устойчивыми, другие - неустойчивыми. В теории У. нелинейных систем говорят об У. данного состояния, а не системы как таковой. У. какого-либо состояния нелинейной САУ может сохраняться, если действующие возмущения достаточно малы, и нарушаться при больших возмущениях. Поэтому вводятся понятия У. в малом, большом и целом. Важное значение имеет понятие абсолютной У., т. е. У. САУ при произвольном ограниченном начальном возмущении и любой нелинейности системы (из определённого класса нелинейностей). Исследование У. нелинейных САУ оказывается довольно сложным даже при использовании ЭВМ. Для нахождения достаточных условий У. часто применяют метод функций Ляпунова. Достаточные частотные критерии абсолютной У. предложены рум. математиком В. М. Поповым и др. Наряду с точными методами исследования У. применяются приближённые методы, основанные на использовании описывающих функций, например методы гармонической или статистической линеаризации.

Устойчивость САУ при воздействии на неё случайных возмущений и помех изучается теорией У. стохастических систем.

Современная вычислительная техника позволяет решать многие проблемы У. линейных и нелинейных САУ различных классов как путём использования известных алгоритмов, так и на основе новых специфических алгоритмов, рассчитанных на возможности современных ЭВМ и вычислительных систем.

Точность системы автоматического управления, одна из важнейших характеристик систем автоматического управления (САУ), определяющая степень приближения реального управляемого процесса (УП) к требуемому. Отклонение УП от требуемого вызывается динамическими свойствами объекта управления (ОУ) и САУ, ошибками измерительных и исполнительных устройств, входящих в САУ, внутренними шумами в некоторых её элементах и внешними помехами. Оно складывается из систематической и случайной ошибок. Систематическая ошибка представляет собой математическое ожидание случайного отклонения УП от требуемого. Случайная ошибка обычно характеризуется дисперсией или средним квадратическим отклонением (в случае одномерного УП) либо корреляционной матрицей (в случае многомерного УП). Соотношение между систематической и случайной ошибками определяется полосой пропускания системы (диапазоном частот колебаний входного сигнала, на которые система заметно реагирует). С расширением полосы пропускания система становится менее инерционной и систематическая ошибка уменьшается, однако при этом увеличивается дисперсия случайной ошибки. Поэтому при проектировании САУ ищут некоторое компромиссное решение задачи выбора полосы пропускания. Т. тесно связана с другой важной характеристикой САУ - её чувствительностью.

На начальном этапе развития автоматики вопрос об учёте случайных ошибок не возникал и точность САУ характеризовали только систематической ошибкой. Необходимость учёта случайных ошибок, возникшая впервые при решении задач прицеливания при стрельбе и бомбометании с самолёта и возросшая с появлением радиолокации, привела к созданию и развитию статистической теории УП, которая стала оцннм из важнейших направлений теории автоматического управления. Основные задачи статистической теории УП: 1) расчёт Т. при заданных характеристиках ОУ, САУ и случайных возмущений - статистический анализ САУ; 2) определение оптимальных характеристик САУ, при которых достигается наибольшая возможная Т. при заданных статистических характеристиках сигналов управления и помех, - статистический синтез САУ. Статистическая теория УП даёт методы статистического анализа и синтеза систем разных классов (линейных, приводимых к линейным, описываемых стохастическими дифференциальными или разностными уравнениями), а также общие методы оптимизации линейных и нелинейных систем по различным критериям и методы определения предельно достижимой (потенциальной) Т. при заданных статистических характеристиках полезных сигналов и помех. Методы статистической теории УП сложны и требуют применения ЭВМ.

Управление сложными системами обычно осуществляется в условиях неопределённости - при отсутствии достаточной информации о характеристиках полезных сигналов и помех, а в некоторых случаях и об ОУ. Поэтому возникает проблема повышения точности САУ непосредственно в процессе её работы. Это достигается применением принципов адаптации, обучения или самообучения. Статистическая теория УП даёт теоретические основания для проектирования адаптивных (в частности самонастраивающихся), обучающихся и самообучающихся САУ, а также методы оценки эффективности обучения - повышения их Т. Развитие статистической теории УП привело к созданию в начале 70-х гг. 20 в. основ теории стохастических систем, распространяющей и обобщающей методы статистической теории УП (в том числе методы расчёта Т.) на системы, включающие не только машины, автоматические устройства и ЭВМ, но и коллективы людей.

Самонастраивающаяся система автоматического управления, самоприспосабливающаяся система, в которой приспособление к случайно изменяющимся условиям обеспечивается автоматическим изменением параметров настройки или путём автоматического поиска оптимальной настройки. В любой несамонастраивающейся автоматической системе управления имеются параметры, которые влияют на устойчивость и качество процессов управления и могут быть изменены при регулировке (настройке) системы. Если эти параметры остаются неизменными, а условия функционирования (характеристики управляемого объекта, возмущающие воздействия) существенно изменяются, то процесс управления может ухудшиться или даже стать неустойчивым. Ручная настройка системы часто оказывается обременительной, а иногда и невозможной. Использование в таких случаях С. с. технически и экономически целесообразно и даже может оказаться единственным способом надёжного управления.

С. с. подразделяют на поисковые и беспоисковые. В поисковых С. с. необходимое качество управления достигается в результате автоматического поиска оптимальной (в некотором смысле) настройки. Качество настройки характеризуется некоторым обобщённым показателем, связанным с первичными параметрами настройки сложным, обычно не вполне стабильным и недостаточно известным соотношением. Этот показатель измеряется непосредственно или вычисляется по измеренным значениям первичных параметров. Параметрам настройки в С. с. придаются поисковые или пробные изменения. Анализ колебаний показателя качества настройки, вызванных поисковыми воздействиями, позволяет установить, является ли настройка оптимальной, т. е. соответствующей экстремуму (максимуму или минимуму) показателя качества. Если имеют место отклонения от экстремума, то настройка изменяется до тех пор, пока не приблизится к оптимальной. Поисковые С. с. могут работать при изменении внешних условий в широких пределах.

Беспоисковые С. с. имеют перед поисковыми системами определённое преимущество, обусловленное тем, что поиск оптимального состояния отнимает значительное время, т. е. время самонастройки поисковых систем ограничено снизу. В беспоисковых С. с. используется некоторый контролируемый показатель качества управления (например, значение производной контролируемого параметра по времени). Автоматической настройкой параметров этот показатель поддерживается в заданных пределах. В зависимости от вида показателя различают С. с. с контролем переходных процессов, с контролем частотных характеристик, с эталонной моделью и др. Всё это - замкнутые беспоисковые С. с. с замкнутым контуром самонастройки, в котором параметры настройки автоматически изменяются при выходе показателя качества за допустимые пределы. Некоторые замкнутые беспоисковые С. с. близки к обычным нелинейным системам автоматического управления с пониженной чувствительностью к характеристикам объекта - к таким, например, как релейные системы или управления системы с переменной структурой. Наряду с замкнутыми применяют также разомкнутые С. с. - т. н. системы параметрической компенсации. В этих С. с. контролируются воздействия, вызывающие изменение свойств объекта, и по заранее рассчитанной программе изменяются параметры настройки системы; контур самонастройки в этом случае разомкнут. Такая самонастройка может быть почти мгновенной, однако её осуществление требует контроля окружающей среды и достаточно точного знания законов воздействия среды на управляемый объект.

Самонастройка реализуется как специальной аппаратурой (в виде блоков самонастройки или самонастраивающихся экстремальных регуляторов), так и адаптивными алгоритмами центральных управляющих ЦВМ. Придание алгоритмам управления свойств самонастройки (адаптации) существенно расширяет возможности управления разнообразными процессами. Внедрение С. с. позволяет приблизиться к оптимальным режимам функционирования объектов, облегчает задачу унификации систем управления, сокращает время на испытания и наладку, снижает технологические требования на изготовление ряда узлов устройств управления, освобождает обслуживающий персонал от трудоёмких операций настройки. Практическое использование С. с. и самонастраивающихся алгоритмов - одна из характерных черт технического прогресса в области управления.

Пилотирование (от франц. piloter - вести самолёт), управление движением летательного аппарата (ЛА), осуществляемое пилотом или системой автоматического управления с целью изменения или сохранения режима полёта. П. управляемых беспилотных ЛА осуществляется по командам оператора с наземного пункта, передаваемым на ЛА посредством электромагнитных волн (телеуправляемые беспилотные ЛА), или по командам бортовой автоматической системы управления в соответствии с заранее составленной программой (беспилотные ЛА с автономным управлением). П. производится с момента взлёта ЛА и до его приземления с помощью органов управления, создающих необходимые моменты сил относительно центра масс ЛА и изменяющих тягу силовой установки. Например, задача П. самолёта заключается в основном в изменении его подъёмной силы, силы тяги и в создании (или парировании) моментов сил, вращающих самолёт вокруг его продольной, поперечной и вертикальной осей, проходящих через центр масс. П. и навигация воздушная определяют процесс вождения ЛА в целом (для самолётов - самолётовождение). У самолётов и планёров для П. служат аэродинамические рули высоты и направления, элероны, интерцепторы, щитки и др., у самолётов с вертикальным взлётом и посадкой (на режимах, когда аэродинамические рули не эффективны) и у космических ЛА - реактивные, струйные или газовые рули, у вертолётов П. осуществляется главным образом изменением величины и направления силы тяги несущих винтов.

Автопилоты. Современные автопилоты (АП) представляют собой комплекс совместно работающих устройств, обеспечивающих стабилизацию ЛА на траектории, стабилизацию высоты полета, управление маневрами ЛА и приведение его в горизонтальный полет.

В основу схемы автопилотов при работе в режиме стабилизации положен принцип регулирования по углу, угловой скорости (автопилоты типа АП-6Е, АП-28, АП-31, АП-40 и др.), а у некоторых автопилотов и по угловому ускорению (автопилоты типа АП-15). Система «Самолет—автопилот» представляет единую замкнутую систему автоматического регулирования и управления. Автопилот состоит обычно из трех автоматических систем регулирования с внутренними перекрестными связями. Все три системы обычно выполняются по одинаковым схемам. На рис. 1 приведена схема канала управления рулями высоты.

dв — угол отклонения руля высоты; nз— заданное значение угла тангажа; n— угол тангажа; 3 — задатчик угла тангажа; ИУ — измерительные устройства (датчики n и vn); Unз, Un, Uvn— напряжения, пропорциональные значениям nз, n, vn; СУ — суммирующее устройство; Uос — напряжение обратной связи; US— суммарное напряжение; У — усилитель; ОС — датчик обратной связи; k — коэффициент усиления усилителя; РМ — рулевая машина

Рис. 1. Функциональная схема автоматического управления рулями высоты

В состав каждого канала входят измерительные устройства ИУ, суммирующие устройства СУ, усилительные (У) и исполнительные устройства (РМ). Измерительные устройства ИУ автопилотов типа АП (например, датчики углов крена, тангажа, курса, высоты и т. п.) измеряют значения отклонений угла и угловой скорости (например, угла тангажа n, угловой скорости тангажа vn) и преобразуют эти отклонения в величины напряжений Un и Uv. После алгебраического суммирования в суммирующем устройстве СУ сумма напряжений US усиливается усилителем У и подается на рулевую машину РМ автопилота. Последняя отклоняет руль высоты, в результате чего появившееся отклонение угла тангажа ликвидируется.

Список литературы

1.    Теория автоматического управления. /Под ред. Воронова А.А.-М.; Высш.шк.

2.    Макаров И.М., Менский Б.М. Линейные автоматические системы.-М.: Машиностроение, 1982.

3.    Системы с переменной структурой и их применение в задачах автоматизации полёта, М., 1968.

4.    Воронов А. А., Основы теории автоматического управления, ч. 3, М. - Л., 1970.

5.    Емельянов С. В., Системы автоматического управления с переменной структурой, М., 1967.


 
© 2012 Рефераты, доклады, дипломные и курсовые работы.