реферат
Главная

Рефераты по биологии

Рефераты по экономике

Рефераты по москвоведению

Рефераты по экологии

Краткое содержание произведений

Рефераты по физкультуре и спорту

Топики по английскому языку

Рефераты по математике

Рефераты по музыке

Остальные рефераты

Рефераты по авиации и космонавтике

Рефераты по административному праву

Рефераты по безопасности жизнедеятельности

Рефераты по арбитражному процессу

Рефераты по архитектуре

Рефераты по астрономии

Рефераты по банковскому делу

Рефераты по биржевому делу

Рефераты по ботанике и сельскому хозяйству

Рефераты по бухгалтерскому учету и аудиту

Рефераты по валютным отношениям

Рефераты по ветеринарии

Рефераты для военной кафедры

Рефераты по географии

Рефераты по геодезии

Рефераты по геологии

Реферат: Переработка полимеров

Реферат: Переработка полимеров

ВВЕДЕНИЕ

Полимерные молекулы представляют собой обширный класс соединений, основными отличительными характеристиками которых являются большая молекулярная масса и высокая конформационная гибкость цепи. Можно с уверенностью сказать, что и все характеристические свойства таких молекул, а также связанные с этими свойствами возможности их применения обусловлены вышеуказанными особенностями.

В нашем урбанизированном быстро развивающемся мире резко возрос спрос на полимерные материалы. Трудно себе представить полноценную работу заводов, электростанций, котельных, учебных заведений, электрической бытовой техники, которая нас окружает дома и на работе, современных вычислительных машин, автомобилей и много другого без использования этих материалов. Хотим ли мы сделать игрушку или создать космический корабль - и в том, и в другом случае не обойтись без полимеров. Но каким образом можно придать полимеру требуемую форму и вид? Чтобы ответить на этот вопрос, рассмотрим иной аспект технологии полимеров, а именно их переработку, что и является предметом данной работы.

В широком смысле переработку полимеров можно рассматривать как некую инженерную специальность, занимающуюся превращением исходных полимерных материалов в требуемые конечные продукты. Большинство методов, применяемых в настоящее время в технологии переработки по­лимеров, являются модифицированными аналогами методов, используе­мых в керамической и металлообрабатывающей промышленности. Дейст­вительно, нам необходимо понять все тонкости переработки полимеров для того, чтобы заменить обычные традиционные материалы другими материалами с улучшенными свойствами и внешним видом.

Около 50 лет назад существовало очень ограниченное количество процес­сов переработки полимеров в конечные изделия. В настоящее время имеет­ся множество процессов и методов, основными из них являются каландрование, отливка, прямое прессование, литье под давлением, экструзия, пневмоформование, холодное формование, термоформование, вспенивание, армирование, формование из расплава, сухое и мокрое формование. Последние три метода используют для производства волокон из волокнообразующих материалов, а остальные - для переработки пластических и эластомерных материалов в промышленные изделия. В следующих разде­лах я попытался в общем виде рассмотреть эти важные процессы. Для более деталь­ного ознакомления с этими и другими процессами, такими, как нанесение покрытий окунанием и методом вихревого напыления псевдоожиженного слоя, электронная и тепловая герметизация и сварка, следует обратиться к специальным учебникам по переработке полимеров. За пределы этого реферата также выходят и вопросы, касающиеся покрытий и адгезивов.

Перед тем, как непосредственно перейти к рассмотрению способов и методов переработки полимеров в конечные продукты необходимо узнать: что же представляют собой полимеры, какие они бывают и где могут  использоваться, т.е. какие конечные продукты могут быть получены из полимеров? Роль полимеров очень велика и мы должны  понять необходимость их переработки.

 

1. ПОЛИМЕРЫ И ПОЛИМЕРНЫЕ МАТЕРИАЛЫ

1.1 ОБЩАЯ ХАРАКТЕРИСТИКА И КЛАССИФИКАЦИЯ

Полимером называется органическое вещество, длинные молеку­лы которого построены из одинаковых многократно повторяю­щихся звеньев — мономеров. По происхождению полимеры делятся на три группы.

Природные образуются в результате жизнедеятельности рас­тений и животных и содержатся в древесине, шерсти, коже. Это протеин, целлюлоза, крахмал, шеллак, лигнин, латекс.

Обычно природные полимеры подвергаются операциям выде­ления очистки, модификации, при которых структура основных цепей остается неизменной. Продуктом такой переработки явля­ются искусственные полимеры. Примерами являются натураль­ный каучук, изготовляемый из латекса, целлулоид, представляю­щий собой нитроцеллюлозу, пластифицированную камфарой для повышения эластичности.

Природные и искусственные полимеры сыграли большую роль в современной технике, а в некоторых областях остаются неза­менимыми и до сих пор, например в целлюлозно-бумажной про­мышленности. Однако резкий рост производства и потребления органических материалов произошел за счет синтетических поли­меров – материалов, полученных синтезом из низкомолекуляр­ных веществ и не имеющих аналогов в природе. Развитие хими­ческой технологии высокомолекулярных веществ — неотъемлемая и существенная часть современной НТР. Без полимеров уже не может обойтись ни одна отрасль техники, тем более новой. По химической структуре полимеры делятся на линейные, разветв­ленные, сетчатые и пространственные.        

Молекулы линейных поли­меров химически инертны по отношению друг к другу и связаны между собой лишь силами Ван-дер-Ваальса. При нагревании вязкость таких полимеров уменьшается и они способны обратимо переходить сначала в высокоэластическое, а затем и в вязкотекучее состояния (рис. 1).

Рис.1. Схематическая диаграмма вязкости термопластичных полимеров в зависимости от температуры: Т1 – температура перехода из стеклообразного в  высоко эластичное состояние, Т2 – температура перехода из высокоэластичного в вязкотекучее состояние.

Поскольку единственным следствием нагрева является изменение пластичности, линейные полимеры называют термопластичными. Не следует думать, что термин «ли­нейные» обозначает прямолинейные, наоборот, для них более ха­рактерна зубчатая или спиральная конфигурация, что придает таким полимерам механическую прочность.

Термопластичные полимеры можно не только плавить, но и растворять, так как связи Ван-дер-Ваальса легко рвутся под дей­ствием реагентов.

Разветвленные (привитые) полимеры более прочны, чем ли­нейные. Контролируемое разветвление цепей служит одним из основных промышленных методов модификации свойств термопластичных полимеров.

Сетчатая структура характерна тем, что цепи связаны друг с другом, а это сильно ограничивает движение и приводит к изме­нению как механических, так и химических свойств. Обычная ре­зина мягка, но при вулканизации серой образуются ковалентные связи типа S-0, и прочность растет. Полимер может приобрести сетчатую структуру и спонтанно, например, под действием света и кислорода произойдет старение с потерей эластичности и рабо­тоспособности. Наконец, если молекулы полимера содержат реакционно-способные группы, то при нагревании они соединяются множеством прочных поперечных связей, полимер оказывается сшитым, т. е. приобретает пространственную структуру. Таким образом, нагрев вызывает реакции, резко и необратимо изменяю­щие свойства материала, который приобретает прочность и вы­сокую вязкость, становится нерастворимым и неплавким. Вслед­ствие большой реакционной способности молекул, проявляющей­ся при повышении температуры, такие полимеры называют тер­мореактивными.


     Рис.2   Реакции образования полимеров:

а) – полимеризация,

б) - поликонденсация

Термопластичные полимеры получают по реакции полимери­зации, протекающей по схеме пММп (рис.2), где М — мо­лекула мономера, Мп — макромолекула, состоящая из мономер­ных звеньев, п — степень полимеризации.

При цепной полимеризации молекулярная масса нарастает почти мгновенно, промежуточные продукты неустойчивы, реакция чувствительна к присутствию примесей и требует, как правило, высоких давлений. Неудивительно, что такой процесс в естествен­ных условиях невозможен, и все природные полимеры образова­лись иным путем. Современная химия создала новый инстру­мент — реакцию полимеризации, а благодаря ему большой класс термопластичных полимеров. Реакция полимеризации реализует­ся лишь в сложной аппаратуре специализированных производств, и термопластичные полимеры потребитель получает в готовом виде.

Реакционно-способные молекулы термореактивных полимеров могут образоваться более простым и естественным путем — посте­пенно от мономера к димеру, потом к тримеру, тетрамеру и т. д. Такое объединение мономеров, их «конденсацию», называют ре­акцией поликонденсации; она не требует ни высокой чистоты, ни давлений, но сопровождается изменением химического состава, а часто и выделением побочных продуктов (обычно водяного пара) (рис. 2). Именно эта реакция реализуется в природе; она мо­жет быть легко осуществлена за счет лишь небольшого нагрева в самых простых условиях, вплоть до домашних. Такая высокая технологичность термореактивных полимеров предоставляет ши­рокие возможности изготовлять различные изделия на нехимиче­ских предприятиях, в том числе на радиозаводах.

Независимо от вида и состава исходных веществ и способов получения материалы на основе полимеров можно классифици­ровать следующим образом: пластмассы, волокниты, слоистые пластики, пленки, покрытия, клеи. Я не буду особо заострять внимание на всех этих продуктах, расскажу лишь о самых широко используемых. Необходимо показать, насколько велика потребность полимерных материалов в наше время, а, следовательно, и важность их переработки. Иначе проблема была бы просто необоснованна.

1.2 ПЛАСТИКИ

Слово "пластик" происходит из греческого языка и обозначает мате­риал, который может быть спрессован или сформован в любую форму по выбору. Согласно этой этимологии даже глину можно было бы наз­вать пластиком, однако в действительности пластиками называют только изделия из синтетических материалов. Американское общество испыта­ний и материалов определяет, что такое пластик, следующим образом: "это любой представитель широкого круга разнообразных материалов, полностью или частично органических по составу, которому можно придать необходимую форму при воздействии температуры и (или) давления".

Известны сотни пластиков. В табл. 1 представлены основные их виды и приведены отдельные представители каждого из видов. Следует отметить, что в настоящее время не существует единого способа описания всего разнообразия пластиков ввиду их многочисленности.

Таблица 1. Основные типы пластиков

Тип Типичные представители Тип Типичные представители
Акриловые пластики Аминопластики Полиметилметакрилат (ПММА) Полиакрилонитрил (ПАН) Мочевиноформальдегидная смола Меламиноформальдегидная смола

Полиэфиры

Ненасыщенные полиэфирные смолы

Полиэтилснтерефталат (ПЭТФ) Полиэтилснадипат

Целлюлозы

Этилцеллюлоза

Ацетат целлюлозы

Нитрат целлюлозы

Полиолефины Стирольные пластики Полиэтилен (ПЭ) Полипропилен (ПП) Полистирол (ПС)
Эпоксидные пластики Эпоксидные смолы Сополимер стирола с акрилонитрилом
Фторопласты Политетрафторэтилен (ПТФЭ) Поливинилиденфторид Сополимер акрилонитрила со сти­ролом и бутадие­ном (АБС)
Фенопласты Фенолоформальдегидная смола Фенолофурфуроловая смола Виниловые пластики Поливинилхлорид (ПВХ) Поливинилбутираль
Полиамидные пластики (найлоны) Поликапролактам (ПА-6) Полигексам етиленадипамид (ПА-6,6) Сополимер винилхлорида с винилацетатом

Первым термопластом, нашедшим широкое применение, был целлулоид — искусственный полимер, полученный путем перера­ботки природного — целлюлозы. Он сыграл большую роль в тех­нике, особенно в кинематографе, но вследствие исключительной пожароопасности (по составу целлюлоза очень близка к бездым­ному пороху) уже в середине XX в. ее производство упало почти до нуля.

Развитие электроники, телефонной связи, радио настоятельно требовало создания новых электроизоляционных материалов с хо­рошими конструкционными и технологическими свойствами. Так появились искусственные полимеры, изготовленные на основе той же целлюлозы, названные по первым буквам областей примене­ния этролами. В настоящее время лишь 2 ... 3% мирового про­изводства полимеров составляют целлюлозные пластики, тогда как примерно 75% — синтетические термопласты, причем 90% из них приходится на долю только трех: полистирола, полиэтилена, поливинилхлорида.

Полистирол вспенивающийся, например, широко используется как теплозвукоизоляционный строительный материал. В радиоэлектронике он находит применение для герметизации изделий, когда надо обеспечить минимальные механические напряжения, создать вре­менную изоляцию от воздействия тепла, излучаемого другими эле­ментами, или низких температур и устранить их влияние на элек­трические свойства, следовательно, — в бортовой и СВЧ-аппаратуре.

1.3 ЭЛАСТОМЕРЫ

Обычно эластомеры называют каучуками. Воздушные шары, подошвы ботинок, шины, хирургические перчатки, садовые шланги – это типичные примеры изделий из эластомеров. Классическим примером эластомеров является природный каучук.

Макромолекула каучука имеет спиральное строение с периодом идентичности 0,913 нм и содержит более 1000 изопреновых остатков. Строение макромолекулы каучука обеспечивает его высокую эластичность – наиболее важное техническое свойство. Каучук обладает поразительной способностью обратимо растягиваться до 900% первоначальной длины.

Разновидностью каучука является менее эластичная гуттаперча, или балата, - сок некоторых каучуконосных растений, произрастающих в Индии и на Малайском полуострове. В отличие от каучука молекула гуттаперчи короче и имеет транс-1,4-строение с периодом идентичности 0,504 нм.

Выдающееся техническое значение натурального каучука, отсутствие его в ряде стран, в том числе в Советском Союзе, экономически рентабельных источников, стремление располагать материалами, превосходящими по ряду свойств (масло-, морозостойкость, прочность к стиранию) натуральный каучук, стимулировали исследования по получению синтетического каучука.

В настоящее время используется несколько синтетических эластомеров. Они включают в себя полибутадиены, сопо­лимеры стирола с бутадиеном, акрилонитрила с бутадиеном (нитрильный каучук), полиизопрен, полихлоропрен (неопрен), сополимер этилена с пропиленом, сополимер изопрена с изобутиленом (бутиловый каучук), полифторуглерод, полиуретан и силиконовые каучуки. Сырьем для получения синтетического каучука по способу Лебедева служит этиловый спирт. Теперь разработано получение бутадиена из бутана через каталитическое дегидрирование последнего.

Ученые добились успеха и сегодня более одной трети резины, производимой в мире, изготовляется из синтетического каучука. Каучук и резина внести огромный вклад в технический прогресс последнего столетия. Вспомним хотя бы о резиновых сапогах и разнообразных изоляционных материалах, и нам станет ясна роль каучука в важнейших отраслях хозяйства. Более половины мирового производства эластомеров расходуется на производство шин. На изготовление покрышек для малолитражки нужно около 20-ти кг каучука, причем разных сортов и марок, а для самосвала почти 1900 кг. Меньшая часть идет на остальные виды резиновых изделий. Каучук делает нашу жизнь удобнее.

1.4 ВОЛОКНА

Всем нам известны волокна природного происхождения, такие, как хлопок, шерсть, лен и шелк. Также нам знакомы синтетические волокна из найлона, полиэфиров, полипропилена и акрилов. Основной отличительной чертой волокон является то, что их длина в сотни раз превосходит их диаметр. Если натуральные волокна (кроме шелка) представляют собой штапельные волокна, то синтетические могут быть получены как в виде непрерывных нитей, так и в виде штапельною волокна.

С точки зрения потребителя волокна могут быть трех типов; повсед­невного спроса, безопасные и промышленные.

Волокнами повседневного спроса называют волокна, используемые для изготовления нижней и верхней одежды. В эту группу входят волокна для изготовления белья, носков, рубашек, костюмов и пр. Эти волокна должны обладать соответствующей прочностью и растя­жимостью, мягкостью, не горючестью, поглощать влагу и хорошо окраши­ваться. Типичными представителями этого класса волокон являются хло­пок, шелк, шерсть, найлон, полиэфиры и акрилаты.

Безопасными волокнами называют волокна, используемые для произ­водства ковров, занавесей, чехлов для кресел, драпировок и пр. Подоб­ные волокна должны быть жесткими, прочными, долговечными и изно­состойкими. С точки зрения безопасности к этим волокнам предъявляются следующие требования: они должны плохо воспламеняться, не распрост­ранять пламя и при горении выделять минимальное количество тепла, дыма и токсических газов. При добавлении небольших количеств веществ, содержащих такие атомы, как В, N, Si, P, C1, Вг или Sb, в волокна пов­седневного спроса удается придать им огнестойкие свойства и, таким образом, превратить их в безопасные волокна. Введение в волокна моди­фицирующих добавок уменьшает их горючесть, снижает распространение пламени, но не приводит к уменьшению выделения токсических газов и дыма при горении. Исследования показали, что в качестве безопасных волокон' могут быть использованы ароматические полиамиды, полиимиды, полибензимидазолы и полиоксидиазолы. Однако при горении этих волокон наблюдается выделение токсических газов, поскольку в их моле­кулах содержатся атомы азота. Этого недостатка лишены ароматические полиэфиры.

Промышленные волокна используются в качестве армирующих материа­лов в композитах. Эти волокна также называют структурными волокнами, поскольку они обладают высоким модулем, прочностью, термостойкостью, жесткостью, долговечностью. Структурные волокна используют для упроч­нения таких изделий, как жесткие и гибкие трубы, трубки и шланги, а так­же в композиционных структурах, называемых волокнитами и применяе­мых в конструкциях кораблей, автомобилей, самолетов и даже зданий. К этому классу волокон относятся одноосно ориентированные волокна ароматических  полиамидов и полиэфиров, углеродные и кремневые волокна.

2. ПЕРЕРАБОТКА ПОЛИМЕРОВ

2.1 КОМПАУНДИРОВАНИЕ

Полимеры в чистом виде, полученные с промышленных предприятий после их выделения и очистки, называются "первичными" полимерами или "первичными" смолами. За исключением некоторых полимеров, таких, как полистирол, полиэтилен, полипропилен, первичные полимеры обычно не пригодны для прямой переработки. Первичный поливинилхлорид, нап­ример, является материалом рогоподобной фактуры и не может быть сформован без предварительного смягчения путем добавления пласти­фикатора. Аналогично этому для формования натурального каучука тре­буется введение в него вулканизующего агента. Большинство полимеров защищают от термической, окислительной и фотодеструкции введением в них подходящих стабилизаторов. Добавление в полимер красителей и пигментов перед формованием позволяет получить изделия самых различ­ных цветов. Для уменьшения трения и улучшения течения полимера внутри перерабатывающего оборудования в большинство полимеров добавляют смазочные материалы и вещества для улучшения технологических свойств. Наполнители же в полимер обычно добавляют для придания им специаль­ных свойств и уменьшения стоимости конечного продукта.

Процесс, включающий в себя введение таких ингредиентов, как пласти­фикаторы, вулканизирующие агенты, отвердители, стабилизаторы, напол­нители, красители, пламегасители и смазочные вещества, в первичный полимер, называют “компаундированием”, а смеси полимеров с этими добавками – “компаундами”.

Первичные пластические полимеры, такие, как полистирол, полиэтилен, полиметилметакрилат и поливинилхлорид, обычно находятся в виде сыпу­чих мелких порошков. Ингредиенты в виде мелкого порошка или жид­кости смешивают с порошкообразным первичным полимером с использо­ванием планетарных миксеров, V-смесителей, мешалок с ленточной винто­вой лопастью, Z-миксеров или опрокидывателей. Смещение можно прово­дить или при комнатной, или при повышенной температуре, которая, одна­ко, должна быть намного ниже температуры размягчения полимера. Жид­кие форполимеры смешивают с использованием простых высокоскорост­ных мешалок.

Первичные эластомерные полимеры, такие, как натуральный каучук, бутадиенстирольный каучук или нитрильный каучук, получают в виде крошки, спрессованной в толстые пластины, называемые "кипами". Они, как правило, смешаны с вулканизирующими агентами, катализаторами, наполнителями, антиоксидантами и смазочными материалами. Поскольку эластомеры не являются сыпучими порошками, как первичные пластичес­кие материалы, их нельзя смешивать с названными выше ингредиентами, используя методы, применяемые для первичных пластиков. Смешение первичных пластических полимеров с другими компонентами компаунда достигается перемешиванием, тогда как получение компаунда первичных эластомеров включает в себя вальцевание крошки в пластичные листы и последующее введение в полимер требуемых ингредиентов. Компаундирование эластомеров проводят или на двухвальковой каучуковой мельнице, или на смесителе Бенбери с внутренним смешением. Эластомеры в виде латекса или низкомолекулярных жидких смол могут быть смешаны простым перемешиванием с использованием высокоскоростных мешалок. В случае волокнообразующих полимеров компаундирование не проводят. Такие компоненты, как смазочные вещества, стабилизаторы и наполнители, обычно напрямую вводят в расплав или раствор полимера непосредственно перед прядением нити.

2.2 ТЕХНОЛОГИЯ ПЕРЕРАБОТКИ

Тот факт, что полимерные материалы используют в самых различных формах, таких, как стержни, трубы, листы, пенопласты, покрытия или адгезивы, а также как прессованные изделия, подразумевает наличие разнооб­разных способов переработки полимерных компаундов в конечные про­дукты. Большинство полимерных изделий получено либо формованием, либо обработкой, либо отливкой жидких форнолимеров в форме с после­дующим отвердением или сшиванием. Волокна получают в процессе пря­дения.

Процесс формования можно сравнить, например, с лепкой какой-либо фигуры из глины, а процесс обработки — с вырезанием той же фигуры из куска мыла. В процессе формования компаунд в виде порошка, чешуек или гранул помещают в пресс-форму и подвергают воздействию температуры и давления, в результате чего образуется конечный продукт. В процессе обработки получают изделия в виде простых форм, таких, как листы, стержни или трубы, используя штапелирование, штамповку, склейку и сварку.

Прежде чем перейти к обсуждению разнообразных методов переработ­ки полимеров, напомним, что полимерные материалы могут быть термо­пластичными или термореактивными (термоотверждающимися). После формования термопластичных материалов под действием температуры и давления перед освобождением из пресс-формы их следует охлаждать ниже температуры размягчения полимера, так как в противном случае они теряют форму. В случае термореактивных материалов такой необхо­димости нет, поскольку после однократного совместного воздействия температуры и давления изделие сохраняет приобретенную форму даже при его освобождении из пресс-формы при высокой температуре.

2.3 КАЛАНДРОВАНИЕ

Процесс каландрования обычно применяют для производства непре­рывных пленок и листов. Основной частью аппарата (рис.1) для каланд­рования является комплект гладко отполированных металлических валков, вращающихся в противоположных направлениях, и устройство для точного регулирования зазора между ними. Зазор между валками опреде­ляет толщину каландрованного листа. Полимерный компаунд подается на горячие валки, а лист, поступающий с этих валков, охлаждается при прохождении через холодные валки. На последнем этапе листы сматы­ваются в рулоны, как показано на рис.1. Однако если вместо листов требуется получить тонкие полимерные пленки, применяют серию валков с постепенно уменьшающимся зазором между ними. Обычно в листы каландруют такие полимеры, как поливинилхлорид, полиэтилен, каучук и сополимер бутадиена, стирола и акрилонитрила.

Рис. 1. Схема аппарата для каландрования

/ — полимерный компаунд; 2 — каландровочные валки: горячие (3) и холодный (4); 5 — каландрованный лист; б — направляющие валки; 7 — сматывающее устрой­ство

При использовании в каландровочной машине профилированных валков можно получать тисненые листы различных рисунков. Различные декора­тивные эффекты, такие, как имитация под мрамор, могут быть достигнуты путем введения в каландр смеси компаундов различных цветов. Техноло­гия обработки под мрамор обычно используется в производстве плиток для пола из поливинилхлорида.

2.4 ЛИТЬЕ

ЛИТЬЕ В ФОРМЕ. Это сравнительно недорогой процесс, который сос­тоит в переработке жидкого форполимера в твердые изделия требуемой формы. Этим методом могут быть получены листы, трубы, стержни и т.п. изделия ограниченной длины. Схематически процесс литья в форме пред­ставлен на рис.2. В этом случае форполимер, смешанный в соответст­вующих пропорциях с отвердителем и другими ингредиентами, выливают в чашку Петри, которая и служит формой. Затем чашку Петри помещают на несколько часов в печь, нагретую до необходимой температуры, до пол­ного завершения реакции отвердения. После охлаждения до комнатной температуры твердый продукт вынимают из формы. Твердое тело, отлитое таким образом, будет иметь форму внутреннего рельефа чашки Петри.

Рис.2. Простейшее изображение процесса литья в форме

б — наполнение чашки Петри форполимером и отвердителем; б - нагревание в печи; б — извлечение из формы остывшего продукта

Если вместо чашки Петри использовать цилиндрическую стеклянную трубу, закрытую с одного конца, можно получить изделие в виде цилиндрическо­го стержня. Кроме того, вместо форполимера и отвердителя в форме можно вылить смесь мономера, катализатора и других ингредиентов, нагретую до температуры полимеризации. Полимеризация в этом случае будет протекать внутри формы до образования твердого продукта. Для литья в форме подходят акрилы, эпоксиды, полиэфиры, фенолы и уретаны.

Формы для литья изготавливают из алебастра, свинца или стекла. В про­цессе отвердения происходит усадка полимерного блока, что облегчает его освобождение из формы.

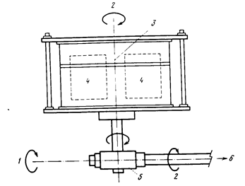
РОТАЦИОННОЕ ЛИТЬЕ. Полые изделия, такие, как мячи и куклы, получают в процессе, называемом  "ротационное литье". Аппарат, используемый в этом процессе, представлен на рис.3.

Компаунд термопластического материала в виде мелкого порошка помещают в полую форму. Используемый аппарат имеет специальное приспособление для одновременного вращения формы вокруг первич­ной и вторичной осей. Форму закрывают, нагревают и вращают. Это при­водит к однородному распределению расплавленного пластика по всей внутренней поверхности полой формы. Затем вращающуюся форму охлаж­дают холодной водой. При охлаждении расплавленный пластический ма­териал, однородно распределенный по внутренней поверхности формы, затвердевает. Теперь форму можно открывать и вынуть конечное изделие.

Также в форму может быть загружена жидкая смесь термореактивного форполимера с отвердителем. Отвердение в этом случае будет происхо­дить при вращении под действием повышенной температуры.

Ротационным литьем производят   изделия из   поливинилхлорида, такие, как галоши, полые шары или головы для кукол. Отвердение поливинилхлорида осуществляется путем физического гелеобразования между поливинилхлоридом и жидким пластификатором при температу­рах 150200°С. Мелкие частицы поливинилхлорида однородно дисперги­рованы в жидком пластификаторе вместе со стабилизаторами и красителя­ми, образуя, таким образом, вещество со сравнительно низкой вязкостью. Этот пастообразный материал, называемый "пластизоль", загружают в фор­му и откачивают из нее воздух. Затем форму начинают вращать и нагре­вать до требуемой температуры, что приводит к гелеобразованию поли­винилхлорида. Толщина стенок образующегося продукта определяется временем гелеобразования.

Рис.3. В процессе ротационного литья полые формы, наполненные полимерным материалом, одновременно вращают вокруг первичной и вторичной осей

1 — первичная ось; 2 — вторичная ось; 3 — деталь разъемной формы; 4 — полости формы; 5 — кожух зубчатой передачи; б—к мотору

После достижения требуемой толщины стенок избыток пластизоля удаляется для проведения повторного цикла. Для окончательной гомогенизации смеси частиц поливинилхлорида с пластифи­катором гелеобразный продукт внутри формы нагревают. Конечный про­дукт вынимают из формы после его охлаждения струёй воды. Метод рота­ционного литья с использованием жидкого материала известен как метод "формования полых изделий заливкой и вращением формы".

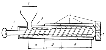
ЛИТЬЕ ПОД ДАВЛЕНИЕМ. Наиболее удобным процессом для производства изделий из термоплас­тичных полимеров является процесс литья под давлением. Несмотря на то что стоимость оборудования в этом процессе достаточно высока, его несомненным достоинством является высокая производительность. В этом процессе дозированное количество расплавленного термопластичного поли­мера впрыскивается под давлением в сравнительно холодную пресс-фор­му, где и происходит его затвердевание в виде конечного продукта.

Аппарат для литья под давлением изображен на рис.6. Процесс сос­тоит из подачи компаундированного пластического материала в виде гра­нул, таблеток или порошка из бункера через определенные промежутки времени в нагретый горизонтальный цилиндр, где и происходит его раз­мягчение. Гидравлический поршень обеспечивает давление, необходимое для того, чтобы протолкнуть расплавленный материал по цилиндру в фор­му, расположенную на его конце. При движении полимерной массы вдоль горячей зоны цилиндра устройство, называемое "торпедой", способствует однородному распределению пластического материала по внутренним стенкам горячего цилиндра, обеспечивая таким образом равномерное распределение тепла по всему объему. Затем расплавленный пластический материал впрыскивают через литьевое отверстие в гнездо пресс-формы.

В простейшем виде пресс-форма представляет собой систему из двух частей: одна из частей движущаяся, другая — стационарная (см. рис.6). Стационарная часть пресс-формы фиксируется на конце цилиндра, а под­вижная снимается и надевается на нее.

При помощи специального меха­нического устройства пресс-форма плотно закрывается, и в это время происходит вспрыскивание расплавленного пластического материала под давлением 1500 кг/см. Закрывающее механическое устройство долж­но быть сделано таким образом, чтобы выдерживать высокие рабочие давления. Равномерное течение расплавленного материала во внутренних областях пресс-формы обеспечивается ее предварительным нагревом до определенной температуры. Обычно эта температура несколько ниже температуры размягчения прессуемого пластического материала. После заполнения формы расплавленным полимером ее охлаждают циркулирую­щей холодной водой, а затем открывают для извлечения готового изделия. Весь этот цикл может быть повторен многократно как в ручном, так и в автоматическом режиме.

ОТЛИВКА ПЛЕНОК. Метод отливки используют также и для производства полимерных пленок. В этом случае раствор полимера соответствующей концентрации постепенно выливают на движущийся с постоянной скоростью металли­ческий пояс (рис.4), на поверхности которого и происходит образова­ние непрерывного слоя полимерного раствора.

Рис.4. Схема процесса отливки пленок

/ — раствор полимера; 2 — распределительный клапан; 3 — раствор полимера рас­текается с образованием пленки; 4 — растворитель испаряется; 5 — бесконечный металлический пояс; 6 — непрерывная полимерная пленка; 7 — сматывающая ка­тушка

При испарении растворите­ля в контролируемом режиме на поверхности металлического пояса проис­ходит образование тонкой полимерной пленки. После этого пленка сни­мается простым отслаиванием. Этим способом получают большинство промышленных целлофановых листов и фотографических пленок.

2.5 ПРЯМОЕ ПРЕССОВАНИЕ

Метод прямого прессования широко используется для производства изделий из термореактивных материалов. На рис.5 представлена типич­ная пресс-форма, используемая для прямого прессования. Форма состоит из двух частей — верхней и нижней или из пуансона (позитивная форма) и матрицы (негативная форма). В нижней части пресс-формы имеется выемка, а в верхней — выступ. Зазор между выступом верхней части и выемкой нижней части в закрытой пресс-форме и определяет конечный вид прессуемого изделия.

В процессе прямого прессования термореактивный материал подвер­гается однократному воздействию температуры и давления. Применение гидравлического пресса с нагреваемыми пластинами позволяет получить желаемый результат.

Рис.5. Схематическое изображение пресс-формы, используемой в процессе пря­мого формования

1 — полость формы, наполненная термореактивным материалом; 2 — направляю­щие шипы; 3 — заусенец; 4 - сформованное изделие

Температура и давление при прессовании могут дости­гать 200 °С и 70 кг/см2 соответственно. Рабочие температура и давление определяются реологическими, термическими и другими свойствами прессуемого пластического материала. Выемка пресс-формы полностью заполняется полимерным компаундом. Когда под давлением пресс-форма закрывается, материал внутри нее сдавливается и прессуется в требуемую форму. Избыточный материал вытесняется из пресс-формы в виде тонкой пленки, которую называют "заусенец". Под действием температуры прес­суемая   масса отвердевает. Для освобождения конечного продукта из пресс-формы охлаждения не требуется.

Рис..6. Схематическое изображение процесса литья под давлением

1 — компаундированный пластический материал; 2 — загрузочная воронка; 3 — поршень; 4 — электрический нагревательный элемент; 5 — стационарная часть формы;

6 — подвижная часть формы; 7 — основной цилиндр; 8 - торпеда; 9 - размягченный пластический материал; 10 — пресс-форма; 11 - изделие, сформованное методом литья под давлением

2.6 ФОРМОВАНИЕ

ПНЕВМОФОРМОВАНИЕ. Большое количество полых пластических изделий производят методом пневмоформования: канистры, мягкие бутылки для напитков и пр. Пневмоформованию могут быть подвергнуты следующие термопластичные материалы: полиэтилен, поликарбонат, поливинилхлорид, полистирол, найлон, полипропилен, акрилы, акрилонитрил, акрилонитрил-бутадиенсти-рольнын полимер, однако по ежегодному потреблению первое место зани­мает полиэтилен высокой плотности.

Пневмоформование ведет свое происхождение от стеклодувной про­мышленности. Схема этого процесса дана на рис.7.

Горячую размяг­ченную термопластичную трубку, называемую "заготовкой", помещают внутрь полой формы, состоящей из двух частей. Когда форма закрыта, обе ее половины зажимают один конец заготовки и иглу для подачи возду­ха, расположенную на другом конце трубки.

Рис.7. Схематическая диаграмма, объясняющая стадии процесса пневмоформования

а — заготовка, помещенная в открытую пресс-форму; б — закрытая пресс-форма;

в — вдувание воздуха в пресс-форму; г — открывание пресс-формы. 1— заготовка;

2 - игла для подачи воздуха; 3 - пресс-форма; 4 - воздух; 5 - изделие, изготовлен­ное методом пневмоформования

Под действием давления, подаваемого из компрессора через иглу, горячая заготовка раздувается как шар до плотного соприкосновения с относительно холодной внутрен­ней поверхностью формы. Затем форму охлаждают, открывают и выни­мают готовое твердое термопластичное изделие.

Заготовка для пневмоформования может быть получена методом литья под давлением или экструзии, и в зависимости от этого метод называют соответственно литьем под давлением с раздувкой или пневмоформованием с экструзией.

ФОРМОВАНИЕ ЛИСТОВЫХ ТЕРМОПЛАСТОВ. Формование листовых термопластов является чрезвычайно важным процессом для производства трехмерных изделий из пластиков. Этим методом из листов акрилонитрилбутадиенстирола получают даже такие крупные изделия, как корпуса подводных лодок.

Схема этого Процесса такова. Термопластичный лист нагревают до температуры его размягчения. Затем пуансон впрессовывает горячий гиб­кий лист в матрицу металлической пресс-формы (рис.9), при этом лист принимает определенную форму. При охлаждении   сформованное изделие затвердевает и извлекается из пресс-формы.

В модифицированном методе под действием вакуума горячий лист за­сасывается в полость матрицы и принимает требуемую форму (рис.10). Этот метод называется методом вакуумного формования.

2.7 ЭКСТРУЗИЯ

Экструзия является одним из самых дешевых методов производства широко распространенных пластических изделий, таких, как пленки, во­локна, трубы, листы, стержни, шланги и ремни, причем профиль этих изде­лий задается формой выхлопного отверстия головки экструдера. Расплав­ленный пластик при определенных условиях выдавливают через выходное отверстие головки экструдера, что и придает желаемый профиль экструдату. Схема простейшей экструзионной машины показана на рис.8.

  

Рис  8. Схематическое изображение простейшей экструзионной машины

1 — загрузочная воронка; 2 - шнек; 3 - основной цилиндр; 4 — нагревательные элементы; 5 — выходное отверстие головки экструдера, а — зона загрузки; б — зона сжатия; в ~ зона гомогенизации

В этой машине порошок или гранулы компаундированного пластиче­ского материала загружают из бункера в цилиндр с электрическим обо­гревом для размягчения полимера. Спиралевидный вращающийся шнек обеспечивает движение горячей пластической массы по цилиндру. По­скольку при движении полимерной массы между вращающимся шнеком и цилиндром возникает трение, это приводит к выделению тепла и, следо­вательно, к повышению температуры перерабатываемого полимера. В про­цессе этого движения от бункера к выходному отверстию головки экстру­дера пластическая масса переходит три четко разделенные зоны: зону загрузки (а), зону сжатия (б) и зону гомогенизации (в) (см. рис 9).

Каждая из этих зон вносит свой вклад в процесс экструзии. Зона за­грузки, например, принимает полимерную массу из бункера и направляет ее в зону сжатия, эта операция проходит без нагревания.     

Рис. 9. Схема процесса формования листовых термопластов

1 лист термопластического материала; 2 — зажим; 3 — пуансон; 4 — размягчен­ный нагревом лист; 5 — матрица; 6 — изделие, полученное методом формования лис­товых термопдастов

Рис.10. Схема процесса вакуумного формования термопластов

1 — зажим; 2 — лист термопласта; 3 — пресс-форма; 4 — изделие, полученное мето­дом вакуумного формования термопластов

В зоне сжатия нагревательные элементы обеспечивают плавление порошкообраз­ной загрузки, а вращающийся шнек сдавливает ее. Затем пастообразный расплавленный пластический материал поступает в зону гомогенизации, где и приобретает постоянную скорость течения, обусловленную винтовой нарезкой шнека.

Под действием давления, создаваемого в этой части экструдера, расплав полимера подается на выходное отверстие головки экструдера и выходит из него с желаемым профилем. Из-за высокой вяз­кости некоторых полимеров иногда требуется наличие еще одной зоны, называемой рабочей, где полимер подвергается воздействию высоких сдвиговых нагрузок для повышения эффективности смешения. Экструдированный материал требуемого профиля выходит из экструдера в сильно нагретом состоянии (его температура составляет от 125 до 350°С), и для сохранения формы требуется его быстрое охлаждение. Экструдат поступает на конвейерную ленту, проходящую через чан с холодной водой, и затверде­вает. Для охлаждения экструдата также применяют обдувку холодным воздухом и орошение холодной водой. Сформованный продукт в даль­нейшем или разрезается или сматывается в катушки.

Процесс экструзии используют также для покрытия проволок и кабелей поливинилхлоридом или каучуком, а стержнеобразных металлических прутьев — подходящими термопластичными материалами.

2.8 ВСПЕНИВАНИЕ

Вспенивание является простым методом получения пено- и губкообразных материалов. Особые свойства этого класса материалов — амортизи­рующая способность, легкий вес, низкая теплопроводность - делают их весьма привлекательными для использования в различных целях. Обыч­ными вспенивающимися полимерами являются полиуретаны, полистирол, полиэтилен, полипропилен, силиконы, эпоксиды, ПВХ и пр. Вспененная структура состоит из изолированных (закрытых) или взаимопроника­ющих (открытых) пустот. В первом случае, когда пустоты закрыты, они могут заключать в себе газы. Оба тина структур схематически представлены на рис.11.

Рис.11. Схематическое изображение ячеистых структур открытого и закрытого типов, образующихся в процессе вспенивания

1- дискретные (закрытые) ячейки; 2 — взаимопроникающие (открытые) ячейки;

3 — стенки ячеек

Существует несколько методов для производства вспененных или ячеистых пластиков. Один из них заключается в том, что через расплавлен­ный компаунд продувают воздух или азот до его полного вспенивания. Процесс вспенивания облегчается при добавлении поверхностно-активных агентов. По достижении требуемой степени вспенивания матрицу охлажда­ют до комнатной температуры. В этом случае термопластичный материал затвердевает во вспененном состоянии. Термореактивные жидкие форполимеры могут быть вспенены в холодном состоянии, а затем нагреты до полного их отвердения. Обычно вспенивание достигается добавле­нием в полимерную массу пено- или газообразователей. Такими агентами являются низкомолекулярные растворители или определенные химиче­ские соединения. Процесс кипения таких растворителей, как н-пентан и н-гексан, при температурах отвердения полимерных материалов со­провождается интенсивным процессом парообразования. С другой стороны, некоторые химические соединения при этих температурах могут раз­лагаться с выделением инертных газов. Так, азо-бис-изобутиронитрил термически разлагается, освобождая при этом большой объем азота , выделяющийся в полимерную матрицу в результате протекания реакции между изоцианатом и водой, также используется для производства вспенен­ных материалов, например пены полиуретана:

                            

Поскольку полиуретаны получают по реакции полиола с диизоцианатом, то для вспенивания продукта реакции необходимо добавление дополни­тельных небольших количеств диизоцианата и воды.

Итак, большое количество паров или газов, выделяемых пено- и газообразователями, приводит к вспениванию полимерной матрицы. Полимер­ную матрицу во вспененном состоянии охлаждают до температур ниже температуры размягчения полимера (в случае термопластичных мате­риалов) или подвергают реакции отвердения или сшивания (в случае термореактивных материалов), в результате матрица приобретает жест­кость, необходимую для сохранения вспененной структуры. Этот процесс называется процессом "стабилизации пены". Если матрицу не охлаждать ниже температуры размягчения или не сшивать, наполняющие ее газы покидают систему пор и пена коллапсирует.

Пенопласты могут быть получены в гибкой, жесткой и полужесткой формах. Для того чтобы получить изделия из пенопласта напрямую, вспени­вание следует проводить непосредственно внутри пресс-формы. Пенопласто­вые листы и стержни также могут быть использованы для производства различных изделий. В зависимости от природы полимера и степени вспенивания плотность пенопластов может составлять от 20 до 1000 кг/см3. Ис­пользование пенопластов весьма многообразно. Например, автомобиль­ная промышленность использует большие количества пенопластов из ПВХ и полиуретана для обивки. Большую роль эти материалы играют и при изготовлении мебели. Жесткие полистирольные пенопласты широко ис­пользуются для упаковки и теплоизоляции зданий. Пенорезины и пенополиуретаны используют для набивки матрасов и пр. Жесткие пенополиуретаны также применяются для теплоизоляции зданий и для изготовления протезов.

2.9 АРМИРОВАНИЕ

При армировании пластической матрицы высокопрочным волокном получают системы, называемые "армированные волокном пластики" (АВП). АВП обладают весьма ценными свойствами: их отличает высокое отношение прочности к весу, значительная коррозионная стойкость и про­стота изготовления. Методом армирования волокнами удается получать широкий круг изделий. Например, конструкторов, создателей космических кораблей при создании искусственных спутников в АВП прежде всего привлекает поразительно высокое отношение прочности к весу. Красивый внешний вид, небольшой вес и коррозионная стойкость позволяют ис­пользовать АВП для обшивки морских судов. Кроме того, АВП используют даже в качестве материала для танков, в которых хранят кислоты.

Остановимся теперь подробнее на химическом составе и физической природе этих необычных материалов. Как было отмечено выше, они пред­ставляют собой полимерный материал, специальные свойства которого обусловлены введением в него армирующих волокон. Основными мате­риалами, из которых изготовляют армирующие волокна (как мелко на­резанные, так и длинные), являются стекло, графит, алюминий, углерод, бор и бериллий. Самые последние достижения в этой области связаны с использованием в качестве армирующих волокон полностью ароматиче­ского полиамида, что обеспечивает более чем 50%-ное уменьшение веса по сравнению с армированными пластиками на основе традиционных волокон. Для армирования также используются и натуральные волокна, такие, как сисал, асбест и пр. Выбор армирующего волокна прежде всего определяется требованиями, предъявляемыми к конечному продукту. Однако стеклянные волокна остаются и по сей день широко используе­мыми и до сих пор вносят основной вклад в промышленное производство АВП. Наиболее привлекательными свойствами стеклянных волокон явля­ются низкий коэффициент термического расширения, высокая стабиль­ность размеров, низкая стоимость производства, высокая прочность при растяжении, низкая диэлектрическая константа, не горючесть и химиче­ская стойкость. Другие армирующие волокна используют в основном в тех случаях, когда требуются некоторые дополнительные свойства для эксплуатации АВП в специфических условиях, несмотря на их более высо­кую стоимость по сравнению со стеклянными волокнами.

АВП получают путем связывания волокон с полимерной матрицей и ее последующего отвердения под действием давления и температуры. Армирующие добавки могут быть в виде мелко порезанных волокон, длинных нитей и тканей. Основными полимерными матрицами, использу­емыми в АВП, являются полиэфиры, эпоксиды, фенолы, силиконы, меламин, производные винила и полиамиды. Большинство АВП получают на основе полиэфирных полимеров, главное достоинство которых со­ставляет их низкая стоимость. Фенольные полимеры используют в тех случаях, когда требуется высокая термостойкость. Чрезвычайно высокие механические свойства АВП приобретают при использовании в качестве полимерной матрицы эпоксидных смол. Использование силиконовых полимеров придает АВП замечательные электрические и термические свойства.

В настоящее время существует несколько методов армирования пласти­кой. Наиболее часто используемыми из них являются: 1) метод наслоения листов вручную, 2) метод наматывания волокна и 3) метод пропитки распылением.

МЕТОД НАСЛОЕНИЯ ЛИСТОВ ВРУЧНУЮ. Вполне вероятно, что это самый простой метод армирования пласти­ков. В этом случае качество конечного продукта во многом определяется умением и мастерством оператора. Весь процесс состоит из следующих стадий. Вначале форму покрывают тонким слоем адгезионной смазки на основе поливинилового спирта, силиконового масла или парафина. Это делается для предотвращения прилипания конечного изделия к форме. Затем форму покрывают слоем полимера, поверх которого кладут стекло­ткань или мат. Эту стеклоткань, в свою очередь, покрывают другим слоем полимера.

Рис.12. Схематическое изображение метода наслоения листов вручную

1 - чередующиеся слои полимера и стеклоткани; 2 - пресс-форма; 3 - прокаты­вающий ролик

Все это для однородного прижимания стеклоткани к полимеру и удаления пузырьков воздуха плотно прокатывают роликами. Коли­чество чередующихся слоев полимера и стеклоткани определяет толщину образца (рис.12).

Затем при комнатной или повышенной температуре происходит отвердение системы. После отвердения армированный пластик снимают с формы и проводят зачистку и окончательную отделку. Этим методом получают листы, части автомобильного кузова, корпуса для судов, трубы и даже фрагменты зданий.

МЕТОД НАМАТЫВАНИЯ ВОЛОКОН. Этот метод очень широко используется для производства таких армиро­ванных пластических изделий, как цилиндры, выдерживающие высокие давления, цистерны для хранения химических веществ и корпуса моторов ракет. Он состоит в том, что непрерывную мононить, волокно, пучок волокон или тканую ленту пропускают через ванную со смолой и отвердителем. По мере выхода волокна из ванны избыток смолы отжимается. Пропитанные смолой волокна или ленту затем наматывают на сердечник требуемой формы и отверждают под действием температуры.

Рис.13. Схематическое изображение метода наматывания волокна

1- подающая катушка; 2 - непрерывная нить; 3 - узел для пропитки волокна и отжима смолы; 4 - сердечник; 5 - пропитанные смолой волокна, намотанные на сер­дечник

Наматыва­ющая машина (рис.13) сконструирована   так,   чтобы    волокна могли наматываться на сердечник определенным образом. Натяжение волокна и способ его наматывания очень важны с точки зрения конечных деформационных свойств готового изделия.

МЕТОД ОПРЫСКИВАНИЯ. В этом методе используют пульверизатор с многоручьевой головкой. Струи смолы, отвердителя и нарезанного волокна одновременно подаются из пульверизатора на поверхность формы (рис.14), где они образуют слой определенной толщины. Нарезанное волокно определенной длины получают непрерывной подачей волокон в измельчающую головку ап­парата. После достижения требуемой толщины полимерную массу при нагревании отверждают. Распыление является экспресс-методом для по­крытия больших поверхностей. Многие современные пластические изделия, такие, как грузовые платформы, резервуары для хранения, кузова грузо­виков и корпуса кораблей, получают именно этим методом.

Рис.14. Схематическое изображение метода опрыскивания

1 — форма; 2 — распыленная смесь нарезанного волокна и смолы; 3 — струя на­резанного волокна; 4 — непрерывное волокно; 5— смола; 6— отвердитель; 7 — узел для нарезания волокна и распыления; 8 — струя смолы

            ДРУГИЕ МЕТОДЫ. Кроме описанных выше методов, в производстве армированных пласти­ков известны и другие, каждый из которых имеет свое специфическое назначение. Так, метод изготовления непрерывных слоистых материалов используют для производства непрерывных листов армированных слоистых пластиков различной толщины. В этом процессе каждый отдельный слой тканой ленты, поступающей с рулонов, пропитывают смолой и отвердителем, а затем спрессовывают вместе, пропуская через систему горячих валков. После отвердения под действием температуры получают слоистый пластик I требуемой толщины (рис.15). Толщину материала можно варьировать, изменяя количество слоев.

Рис.15. Схематическое изображения метода производства непрерывных слоис­тых материалов

1— подающие катушки; 2 — непрерывные листы стеклоткани; 3 — ванна для про­питки в смеси смолы с отвердителем; 4 - непрерывный слоистый пластик; 5 - слоис­тый пластик, нарезаемый на куски необходимого размера

Другой метод, известный как метод получения одноосно ориентирован­ного волокнистого пластика, позволяет изготовить из непрерывных пуч­ков волокон такие изделия, как полые прутья или рыболовные удочки. Этот процесс сравнительно прост. Непрерывный пучок волокон, предвари­тельно обработанный смолой и отвердителем, протягивают через фильеру соответствующего профиля (рис.16), нагретую до определенной тем­пературы. На выходе из фильеры профилированное изделие продолжают нагревать. Отвержденный профиль вытягивают из фильеры системой враща­ющихся валков. Этот процесс несколько напоминает экструзию с той лишь разницей, что при экструзии полимерный материал проталкивают через фильеру изнутри с помощью вращающегося шнека, а в описанном методе материал протягивают через выходное отверстие фильеры с внеш­ней стороны.

Рис.16. Схематическое изображение метода получения одноосно ориентированно­го волокнистого пластика

1 — непрерывный пучок волокон, пропитанный смолой и отвердителем; 2 — нагре­вательный элемент; 3 — фильера; 4 — вращающиеся вытягивающие валки; 5 — гото­вое изделие, нарезанное на куски; 6 — профиль готового изделия

Кроме того, смесь, содержащая нарезанные волокна, смолу и отверди­тель, может быть сформована любым другим подходящим методом, на­пример методом прямого прессования. Термопластичные материалы, наполненные нарезанными волокнами, могут быть сформованы прямым прессованием, литьем под давлением или экструзией для получения конеч­ного продукта с улучшенными механическими свойствами.

2.10 ПРЯДЕНИЕ ВОЛОКОН

Полимерные волокна получают в процессе, называемом прядением. Существуют три принципиально различных метода прядения: прядение из расплава, сухое и мокрое прядение. В процессе прядения из расплава полимер находится в расплавленном состоянии, а в других случаях - в виде растворов. Однако во всех этих случаях полимер, в расплавлен­ном или растворенном состоянии, протекает через многоканальный мундштук, представляющий собой пластину с очень мелкими отверстиями для выхода волокон.

ПРЯДЕНИЕ ИЗ РАСПЛАВА. В своей простейшей форме процесс прядения из расплава может быть представлен следующим образом. Первоначально полимерные чешуйки расплавляют на нагретой решетке, превращая полимер в вязкую подвиж­ную жидкость. Иногда в процессе нагревания происходит образование комков вследствие протекания процессов сшивания или термической деструкции. Эти комки могут быть легко удалены из горячего полимер­ного расплава пропусканием через систему блок-фильтров. Кроме того, для предотвращения окислительной деструкции расплав следует защищать от кислорода воздуха. Это достигается в основном созданием вокруг расплава полимера инертной атмосферы азота, СОд и водяного пара. Дози­рующий насос подает расплав полимера с постоянной скоростью на много­канальный мундштук (фильеру). Расплав полимера проходит через систему мелких отверстий мундштука и выходит оттуда в виде непрерывных и очень тонких мононитей. При контакте с холодным воздухом происходит мгновенное затвердевание волокон, выходящих из фильер. Процессы охлаждения и отвердения могут быть в значительной мере ускорены при обдувке холодным воздухом. Выходящие из фильер твердые мононити наматываются на катушки.

Важная особенность, которую следует учитывать в процессе прядения из расплава, заключается в том, что диаметр мононити в значительной степени зависит от скорости, с которой расплавленный полимер проходит через фильеру, и от скорости, с которой мононить вытягивают из фильеры и сматывают на катушки.

Рис.17. Схематическое изображение процессов сухого прядения (а) и прядения из расплава (б)

1 загрузочная воронка; 2 — полимерные чешуйки; 3 — нагретая решетка; 4 — го­рячий полимер; 5 — дозирующий насос; б — расплав; 7— многоканальный мундштук, 8 — свежеспряденное волокно; 9 — катушка; 10 — раствор полимера; 11 — фильтр;

12 — дозирующий насос; 13 — многоканальный мундштук; 14 — свежеспряденное во­локно; 15 — на катушку

СУХОЕ ПРЯДЕНИЕ. Большое количество таких традиционных полимеров, как ПВХ или полиакрилонитрил, перерабатывают в волокна в крупных масштабах в процессе сухого прядения. Суть этого процесса показана на рис.17. Полимер растворяют в соответствующем растворителе с образованием высококонцентрированного раствора. Вязкость раствора регулируют увеличением температуры. Горячий вязкий раствор полимера продавли­вают через фильеры, получая, таким образом, тонкие непрерывные струйки. Волокно из этих струек образуется при простом испарении растворителя. Испарение растворителя может быть ускорено путем обдувания встреч­ным потоком сухого азота. Волокна, образующиеся из раствора полимера, в конце концов наматывают на катушки. Скорость прядения волокон может достигать 1000 м/мин. Промышленные ацетатцеллюлозные волокна, полученные из 35%-ного раствора полимера в ацетоне при 40 °С, служат типичным примером получения волокон методом сухого прядения.

МОКРОЕ ПРЯДЕНИЕ. При мокром прядении, как и при сухом, используют сильно концентри­рованные полимерные растворы, высокую вязкость которых удается понизить повышением температуры прядения. Детально процесс мокрого прядения показан на рис.18. В процессе мокрого прядения происходит переработка вязкого раствора полимера в тонкие струнки при пропуска­нии через фильеры. Затем эти полимерные струйки попадают в коагуляционную ванну с осадителем, где и происходит высаживание полимера из раствора в виде тонких нитей, которые после промывки, сушки и пр. собирают на катушках. Иногда в процессе мокрого прядения вместо не­прерывных нитей образуются комки, что происходит в результате об­рыва вытекающей из фильеры струйки под действием сил поверхностного натяжения.

Рис.18.  Схематическое изображение процесса мокрого прядения

1 — раствор полимера; 2 — фильтр; 3 — дозирующий насос; 4 — многоканальный мундштук; 5 — осадитель; 6 — свежеспряденное волокно; 7 — ванна для коагуля­ции и осаждения; 8 — ванна для промывки; 9 — сушка; 10 — на катушку

Этого удается избежать при увеличении вязкости полимерного раствора. Коагуляция, которая является лимитирующей стадией мокрого прядения, процесс довольно медленный, чем и объясняется низкая, по сравнению с другими, скорость прядения раствора, равная 50 м/мин. В промышленности процесс мокрого прядения используют для получения волокон из полиакрилонитрила, целлюлозы, вискозного волокна и т.д.

ОДНООСНАЯ ОРИЕНТАЦИЯ. В процессе прядения волокон из полимерного расплава или раствора макромолекулы в волокне не ориентированы и, следовательно, их степень кристалличности сравнительно низка, что нежелательным образом отража­ется на физических свойствах волокна. Для улучшения физических свойств волокна подвергают операции, называемой одноосной вытяжкой, ис­пользуя растягивающие аппараты определенного типа.

Основной особенностью аппарата является наличие системы двух роли­ков А и В (рис.19), вращающихся с различными скоростями. Ролик В вращается в 4-5 раз быстрее ролика А. Спряденную нить последовательно пропускают через ролик А, растягивающую шпильку 3 и ролик В. По­скольку ролик В вращается со скоростью большей, чем ролик А, волокно вытягивается под нагрузкой, задаваемой шпилькой 3. Вытяжка волокна осуществляется в зоне 2. После прохождения через ролик В вытянутая полимерная нить наматывается на металлическую бобину. Несмотря на то что в процессе вытяжки происходит уменьшение диаметра нити, ее прочностные свойства в значительной степени улучшаются вследствие ориентации макромолекул, параллельно оси волокна.

Рис.19. Схематическое изображение аппарата для одноосного ориентирования

1— невытянутая нить; 2 — зона вытяжки; 3 — растягивающая шпилька; 4— вытя­нутое волокно

ПОСЛЕДУЮЩАЯ ОБРАБОТКА ВОЛОКОН. Для улучшения полезных свойств волокон их часто подвергают до­полнительной специальной обработке: очистке, смазке, проклейке, краше­нию и т.д.

Для очистки используют мыла и другие синтетические моющие средства. Очистка есть не что иное, как удаление грязи и других примесей с поверх­ности волокна. Смазка заключается в обработке волокон с целью защиты

их от трения с соседними волокнами и грубыми металлическими поверх­ностями в процессе переработки. В качестве смазывающих агентов в основ­ном используют природные масла. Смазывание приводит также к умень­шению статического электричества, накапливающегося на волокнах.

Проклейкой называют процесс защитного покрытия волокон. В качестве проклеивающих материалов для большинства волокон используют поли­виниловый спирт или желатину. Проклейка позволяет удерживать волокна в пределах компактного пучка и обеспечивает таким образом равномерное ткачество. Перед крашением ткани проклейку следует удалять промыва­нием в воде.

Для окрашивания волокна помещают в раствор красителя, молекулы которого проникают обычно лишь в аморфные области волокна.

Волокна на основе целлюлозы или белков быстро адсорбируют кислот­ные красители, которые легко связываются с амино- или гидроксильными группами полимеров. Процесс крашения синтетических волокон, таких, как полиэфиры, полиамиды или акрилы, протекает намного медленнее. Скорость крашения в этом случае удается увеличивать повышением тем­пературы. Крашение волокон на основе поливинилхлорида, полиэтилена и пр. практически невозможно без введения в них активных абсорбцион­ных центров при сополимеризации и химическом окислении.

ЗАКЛЮЕНИЕ

Как ранее было отмечено, к полимерам относятся многочисленные природные соединения: белки, нуклеиновые кислоты, целлюлоза, крахмал, каучук и другие органические вещества. Большое число полимеров получают синтетическим путем на основе простейших соединений элементов природного происхождения путем реакций полимеризации, поликонденсации, и химических превращений.

В начале 60-х г. полимеры считали лишь дешевыми заменителями дефицитного природного сырья - хлопка, шелка, шерсти. Но вскоре пришло понимание того, что полимеры, волокна и другие материалы на их основе подчас лучше традиционно используемых природных материалов - они легче, прочнее, более жаростойки, способны работать в агрессивных средах. Поэтому все свои усилия химики и технологи направили на создание новых полимеров, обладающих высокими эксплуатационными характеристиками, и методов их переработки. И достигли в этом деле результатов, порой превосходящих результаты аналогичной деятельности известных зарубежных фирм.

Полимеры широко применяются во многих областях человеческой деятельности, удовлетворяя потребности различных отраслей промышленности, сельского хозяйства, медицины, культуры и быта. При этом уместно отметить, что в последние годы несколько изменилась и функция полимерных материалов в любой отрасли, и способы их получения. Полимерам стали доверять все более и более ответственные задачи. Из полимеров ста­ли изготавливать все больше относительно мелких, но конструктивно сложных и ответственных деталей машин и механизмов, и в то же время все чаще полимеры стали применяться в изготовлении крупногабаритных корпус­ных деталей машин и механизмов, несущих значитель­ные нагрузки.

Рубеж прочностных свойств полимерных материалов удалось преодолеть переходом к композиционным материалам, главным образом стекло и углепластикам. Так что теперь выражение “пластмасса прочнее стали” звучит вполне обоснованно. В то же время полимеры сохранили свои позиции при массовом изготовлении огромного числа тех деталей, от которых не требуется особенно высокая прочность: заглушек, штуцеров, колпачков, рукояток, шкал и корпусов измерительных приборов. Еще одна область, специфическая  именно  для  полимеров,  где  четче  всего  проявляются их преимущества перед любыми иными материалами, - это область внутренней и внешней отделки.

Кстати, те же преимущества стимулируют и широкое применение полимерных материалов в авиационной про­мышленности. Например, замена алюминиевого сплава графитопластиком при изготовлении предкрылка кры­ла самолета позволяет сократить количество деталей с 47 до 14, крепежа - с 1464 до 8 болтов, снизить вес на 22%, стоимость - на 25%. При этом запас прочности изделия составляет 178%. Лопасти вертолета, лопатки вентиляторов реактивных двигателей рекомендуют изго­товлять из поликонденсационных смол, наполненных алюмосиликатными волокнами, что позволяет снизить вес самолета при сохранении прочности и надежности.

Все эти примеры показывают огромную роль полимеров в нашей жизни. Трудно себе представить какие материалы на их основе будут еще получены. Но можно с уверенностью сказать, что полимеры займут если не первое, то хотя бы одно из первых мест в производстве. Совершенно очевидно, что качество, характеристики и свойства конечных продуктов напрямую зависят от технологии переработки полимеров. Важность этого аспекта заставляет искать все новые и новые способы переработки для получения материалов с улучшенными показателями. В данном реферате были рассмотрены лишь основные методы. Общее же их число на этом не ограничивается.

СПИСОК ЛИТЕРАТУРЫ

1. Пасынков В.В., Сорокин В.С., Материалы электронной техники, - М.: Высшая школа, 1986.

2. А. А. Тагер, Физикохимия полимеров, М., химия, 1978.

3. Третьяков Ю.Д., Химия: Справочные материалы. – М.: Просвещение, 1984.

4. Материаловедение/Под ред. Б.Н. Арзамасова. – М.: Машиностроение, 1986.

5. Донцов А. А., Догадкин Б. А., Шершнев В. А., Химия эластомеров, - М.: Химия, 1981.


 
© 2012 Рефераты, доклады, дипломные и курсовые работы.