реферат
Главная

Рефераты по биологии

Рефераты по экономике

Рефераты по москвоведению

Рефераты по экологии

Краткое содержание произведений

Рефераты по физкультуре и спорту

Топики по английскому языку

Рефераты по математике

Рефераты по музыке

Остальные рефераты

Рефераты по авиации и космонавтике

Рефераты по административному праву

Рефераты по безопасности жизнедеятельности

Рефераты по арбитражному процессу

Рефераты по архитектуре

Рефераты по астрономии

Рефераты по банковскому делу

Рефераты по биржевому делу

Рефераты по ботанике и сельскому хозяйству

Рефераты по бухгалтерскому учету и аудиту

Рефераты по валютным отношениям

Рефераты по ветеринарии

Рефераты для военной кафедры

Рефераты по географии

Рефераты по геодезии

Рефераты по геологии

Реферат: Методы очистки воды

Реферат: Методы очистки воды

Министерство образования Российской Федерации

 

Камский государственный политехнический институт

Реферат

по дисциплине «инженерные сети»

на тему:

МЕТОДЫ ОЧИСТКИ ВОДЫ

Выполнил: студент гр. 3305-У

Акатьев И.В.

Проверил: преподаватель

Безбородова И.Н.

Набережные Челны, 2003 г.

Проблема очистки воды охваты­вает вопросы физических, химических и биологических ее изменений в про­цессе обработки с целью сделать ее пригодной для питья, т. е. очистки и улучшения ее природных свойств.

Основными методами очистки воды для хозяйственно-питьевого водоснабжения являются осветление, обес­цвечивание и обеззараживание.

Осветление воды путем осаждения взвешенных веществ. Эту функцию выполняют осветлители, отстойники и фильтры. В осветлителях и отстойни­ках вода движется с замедленной скоростью, вследствие чего происхо­дит выпадение в осадок взвешенных частиц. В целях осаждения мельчай­ших коллоидных частиц, которые мо­гут находиться во взвешенном состоя­нии неопределенно долгое время, к воде прибавляют раствор коагулянта (обычно сернокислый алюминий, же­лезный купорос или хлорное железо). В результате реакции коагулянта с солями многовалентных металлов, содержащимися в воде, образуются хлопья, увлекающие при осаждении взвеси и коллоидные вещества.

Коагуляцией примесей воды назы­вают процесс укрупнения мельчай­ших коллоидных и взвешенных частиц, происходящий вследствие их взаим­ного слипания под действием сил мо­лекулярного притяжения.

Фильтрование — самый распро­страненный метод отделения твердых частиц от жидкости. При этом из рас­твора могут быть выделены не только диспергированные частицы, но и кол­лоиды.

В процессе фильтрования происхо­дит задержание взвешенных веществ в порах фильтрующей среды и в био­логической пленке, окружающей час­тицы фильтрующего материала. Вода освобождается от взвешенных частиц, хлопьев коагулянта и большей части бактерий.

Обесцвечивание воды, т. е. устра­нение или обесцвечивание различных окрашенных коллоидов или полностью растворенных веществ может быть до­стигнуто коагулированием, примене­нием различных окислителей (хлор и его производные, озон, перманганат калия) и сорбентов (активный уголь, искусственные смолы).

Обеззараживание воды, или ее дезинфекция, заключается в полном освобождении воды от болезнетвор­ных бактерий. Так как полного осво­бождения ни отстаивание, ни филь­трование не дают, с целью дезинфек­ции воды применяют хлорирование и другие способы, описанные ниже.

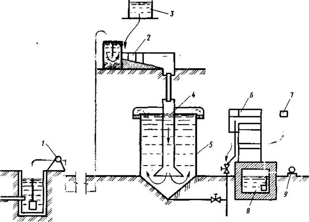
На примере типовой схемы очист­ной станции водопровода показан комплекс составляющих ее элементов (рис. 1.1).

Главнейшие из этих элементов следующие:

Насосная станция первого подъе­ма, подающая воду на очистные сооружения.

Смеситель 2, обеспечивающий пе­ремешивание раствора коагулянта, поступающего из реагентного хозяй­ства 3, с обрабатываемой водой. В практике применяют гидравлические и механические типы смесителей. На схеме показан дырчатый смеситель, представляющий собой лоток с дырча­тыми перегородками, в котором проис­ходит перемешивание воды с раство­ром коагулянта.

Рис. 1.1

Камера реакции 4, в которой за­вершается химическая реакция и образуются хлопья коагулянта. На схеме приводится камера реакции, помещае­мая внутрь вертикального отстойника. Хлопьеобразование в ней завершается в течение 10...15 мин.

Отстойники 5, которые в зависимо­сти от направления движения воды подразделяются на горизонтальные, вертикальные и радиальные. Горизон­тальный отстойник в плане — прямо­угольник. Глубина его 3...5 м. Вода движется через отстойник со ско­ростью, не превышающей 5 мм/с, а при коагулировании — 10 мм/с. В целях равномерного распределения потока в поперечном сечении отстой­ника предусматривается конструктив­ная деталь, обеспечивающая равно­мерное поступление воды в отстой­ник и отвод ее, например дырчатая стенка.

На станциях меньшей производи­тельности применяют вертикальные отстойники, состоящие из двух ци­линдров, вложенных один в другой. Диаметр внешнего цилиндра — не больше 12 м. Отношение диаметра к высоте отстойника (D/H) принимают в пределах 1,2...2. Вода поступает во внутренний цилиндр, в котором нахо­дится камера реакции, опускается вниз, затем осветляется, поднимаясь в вертикальном направлении вверх по среднему кольцевому пространству со скоростью 0,5...0,75 мм/с. Осветлен­ная вода через отводящие желоба отводится трубой или по каналу на фильтр.

Радиальные отстойники диамет­ром от 5 до 60 м занимают среднее положение между горизонтальными и вертикальными отстойниками. Вода попадает в центральную часть отстой­ника и, постепенно уменьшая ско­рость, движется в радиальном на­правлении к лотку, расположенному вдоль периферийной части, из кото­рого отводится.

Дно отстойника устраивают с укло­ном к грязевому приямку или лотку, откуда выпавший осадок непрерывно или периодически удаляется насосом или самотеком сбрасывается в водо­сток.

Осветлители, конструкция кото­рых в основном не отличается от кон­струкции вертикального отстойника, дают значительный эффект осветле­ния, позволяя при этом снизить рас­ход коагулянта и сократить размер сооружений. Осветляемая вода про­ходит в восходящем движении слой осадка высотой 2...2,5 м, находящегося во взвешенном состоянии (так назы­ваемая суспензионная сепарация).

В процессе работы осветлителя происходит укрупнение хлопьев коа­гулянта, задерживающих часть взве­си. В настоящее время осветлители широко применяют как в городских, так и в промышленных водопроводах. В некоторых случаях вертикальные отстойники переоборудуют на освет­лители.

Фильтрование состоит в пропуске воды через фильтр 6, заполненный фильтрующим материалом (обычно кварцевым песком), уложенным слоя­ми возрастающей сверху вниз круп­ности. Вода поступает на поверхность фильтра, движется сквозь слои фильт­рующего материала и дренажным устройством отводится в резервуар чистой воды. В процессе работы фильтр заполнен водой до уровня 1...1.5 м над поверхностью фильтрую­щего материала.

Фильтры делаются открытыми без­напорными и закрытыми напорными. Напорные фильтры представляют со­бой закрытые стальные резервуары.

В применяемых в настоящее время скорых фильтрах скорость прохож­дения водой фильтрующего материа­ла, или скорость фильтрации, равна 6...7 м/ч в отличие от громоздких медленных фильтров, применявшихся ранее, в которых скорость фильтрации была меньше в 50...60 раз.

В предложенных институтом Вод-гео двухслойных фильтрах поверх слоя кварцевого песка укладывают слой дробленого антрацита, что по­зволяет увеличить скорость фильтра­ции до 9... 10 м/ч и соответственно уд­линить рабочий период фильтра.

Количество фильтров на очистной станции — не менее двух. Площадь одного фильтра от 10...20 м2 на малых и средних станциях, до 100 м2 и бо­лее — на больших.

После фильтров вода может по­ступать непосредственно потребителю.

Способы обеззараживания воды.

Среди оставшихся в воде после филь­трования бактерий могут быть болез­нетворные. Уничтожение их может быть достигнуто: введением в воду сильных окислителей, способных уби­вать ферменты бактериальных клеток; нагреванием воды до температуры 80 °С (пастеризация) — 100 °С (сте­рилизация); облучением воды ультра­фиолетовыми лучами; озонированием; воздействием ультразвуком; введе­нием в воду серебра или других ме­таллов, обладающих олигодинамическим действием на микроорганизмы. Практическое применение нашли 1, 3 и 4-й методы.

В качестве окислителей можно использовать хлор, йод, марганцево-кислый калий, перекись водорода, гипохлорит натрия и кальция. Чаще всего применяют жидкий хлор и хлор­ную известь. Газообразный хлор сжи­жают под давлением 0,6...0,8 Па и в жидком виде доставляют на водопро­водную станцию в стальных баллонах весом 25 кг. Посредством особых при­боров — хлораторов хлор дозируют и смешивают с водой. Полученная в установке для обеззараживания 7 хлорная вода (рис. 11.1) поступает в резервуар чистой воды 8. Обычная доза хлора 1,0...1,5 мг/л в случае пред­варительного хлорирования до очист­ных сооружений и 0,3...0,5 мг/л при хлорировании после фильтров. В ма­лых установках применяют хлорную известь. Для устранения запаха хлора к обрабатываемой воде прибавляют одновременно с хлором в небольших количествах аммиак (аммонизация воды). Хлор, введенный в воду, обра­зует хлорноватистую кислоту и соляную кислоту по уравнению С12 + Н2О = = НОС1 + НС1. Хлорноватистая кис­лота НОС1 — соединение нестойкое, диссоциирующее с образованием гипохлоритного иона ОС1. При этом окис­лительное действие на органические вещества, в том числе и бактерии, проявляют как хлорноватистая кисло­та, так и гипохлоритный ион. Соля­ная кислота соединяется с карбона­тами, находящимися в воде.

Установка для дезодорации воды проектируется перед фильтрами. При­вкусы и запахи природных вод бывают природного и искусственного проис­хождения, что обусловливает разли­чие их химического состава и много­образие методов обработки воды для их локализации.

Для удаления из воды веществ, вызывающих нежелательные привку­сы и запахи, применяют следующие методы ее обработки: аэрацию, окис­ление хлором, озоном, перманганатом калия и другими окислителями; сорб­цию активным углем. Аэрация воды является наиболее простым способом ее дезодорации, основанным на ле­тучести большинства веществ, обус­лавливающих привкусы и запахи. Аэрацию воды осуществляют на гра­дирнях, в брызгальных бассейнах (см. гл. 12) до введения в нее окисли­телей во избежание их потерь.

Для удаления из воды запахов, обусловленных жизнедеятельностью микроорганизмов и водорослей, успешно применяют хлор и озон. В целях предотвращения появления хлорфенольного запаха при хлориро­вании воды рекомендуется применять: перхлорирование воды (для окисления фенолов), преаммонизацию (введение солей аммиака для связывания хлора) и комбинированную обработку воды совместно с марганцевокислым ка­лием.

Активный уголь является наиболее универсальным средством для дезо­дорации воды.


ВЫБОР МЕСТА РАСПОЛОЖЕНИЯ ОЧИСТНЫХ СООРУЖЕНИЙ И ОПРЕДЕЛЕНИЕ ТРЕБУЕМЫХ ПЛОЩАДЕЙ

При устройстве хозяйственно-пить­евого водоснабжения важное значение имеет вопрос о выборе места расположения водопроводных станций, включающих водозаборные и водо­очистные сооружения, насосные стан­ции и водоводы. Место расположе­ния водозаборных сооружений должно выбираться возможно ближе к водопотребителю. При использовании поверхностного источника водозабор должен быть расположен выше обслуживаемого населенного пункта по те­чению реки, чтобы поверхностный сток и вышерасположенные населенные пункты не оказывали влияния на качество воды. При использовании под­земного источника водоснабжения место расположения колодцев или каптажных сооружений назначают с учетом возможных источников загряз­нения подземных вод, направления и скорости подземного потока.

Площадка для размещения водо­очистной станции должна обеспечить не только возможность организации зоны санитарной охраны, но и иметь удобный рельеф и надежные подъез­ды к станции. Желательно, чтобы рельеф территории в границах водо­проводной станции обеспечивал дви­жение воды самотеком через все очистные сооружения с минимальным объемом земляных работ при мини­мальном заглублении сооружений в землю. При выборе площадки очист­ных сооружений необходимо учиты­вать уровень грунтовых вод, так как высокий уровень грунтовых вод на площадке размещения водоочистной станции может решающим образом повлиять на степень заглубления ос­новных сооружений станции и вызвать значительное увеличение объема зем­ляной подсыпки сооружений, распо­лагаемых вне зданий.

При определении требуемой пло­щади для размещения станции улуч­шения качества воды следует руко­водствоваться СНиПом, учитываю­щим не только производительность станции, что определяет габариты во­доочистных сооружений, но и возмож­ность дальнейшего ее расширения в соответствии с развитием водопотребления города (табл. 1.1). В этой свя­зи важное значение имеет компоновка основных и вспомогательных соору­жений станции, минимальная протя­женность внутристанционных комму­никаций.

Размеры земельных   участков станций очистки воды систем хозяйственно-питьевого водопровода

                   Таблица 1.1

Производительность станций очистки воды, тыс. м3/сут. Размеры земельных участков, га
До 0,8 1
Более 0,8   до   12 2
»     12   »    32 3
»     32    »     80 4
»     80    »   125 5
»    125   »   250 7
»    250   »   450 10
»    400   »   800 14


 
© 2012 Рефераты, доклады, дипломные и курсовые работы.